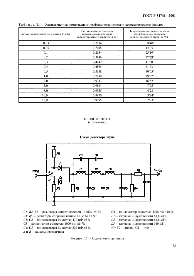
| ||||||||||||||||||||||||||||||
Скачать ГОСТ Р 51741-2001 Передатчики радиовещательные стационарные диапазона ОВЧ. Основные параметры, технические требования и методы измеренийДата актуализации: 01.06.2025
| ||||||||||||||||||||||||||||||
| Обозначение: | ![]() ГОСТ Р 51741-2001 |
| Статус: | действующий |
| Название рус.: | Передатчики радиовещательные стационарные диапазона ОВЧ. Основные параметры, технические требования и методы измерений |
| Название англ.: | Broadcasting transmitters, fixed Very High Frequency (VHF). Main parameters, technical requirements and methods of measurement |
| Дата актуализации текста: | 06.04.2015 |
| Дата актуализации описания: | 01.07.2023 |
| Дата издания: | 01.08.2002 |
| Дата введения: | 01.01.2002 |
| Код ОКП: | 657180;657300 |
| Нормативные ссылки: | ГОСТ 2.114-95; ГОСТ 2.601-95; ГОСТ 12.1.003-83; ГОСТ 12.1.006-84; ГОСТ 12.1.050-86; ГОСТ 12.2.006-87; ГОСТ 12.2.007.0-75; ГОСТ 12.3.019-80; ГОСТ 27.410-87; ГОСТ 11515-91; ГОСТ 14777-76; ГОСТ 15150-69; ГОСТ 23611-79; ГОСТ 24375-80; ГОСТ 26828-86; ГОСТ 30318-95; ГОСТ Р 50016-92; ГОСТ 30338-95; ГОСТ Р 50657-94; ГОСТ 30372-95; ГОСТ Р 50397-92; ГОСТ 30373-95; ГОСТ Р 50414-95; ГОСТ 30429-96; ГОСТ Р 50460-92; ГОСТ Р 50829-95; ГОСТ Р 50842-95; ГОСТ Р 51107-97; ГОСТ Р 51320-99;ОСТ 45.02-97;ОСТ 45.05-93;ОСТ 45.125-99 |
| Область применения: | Настоящий стандарт распространяется на стационарные радиовещательные передатчики с частотной модуляцией, предназначенные для монофонического и стереофонического вещания в диапазоне очень высоких частот, рассчитанные на работу без постоянного обслуживающего персонала. Стандарт устанавливает основные параметры, технические требования и методы измерений основных параметров передатчиков |
| Расположен в: | |






































