| Обозначение: |  ГОСТ Р 51726-2001 |
| Статус: | заменён |
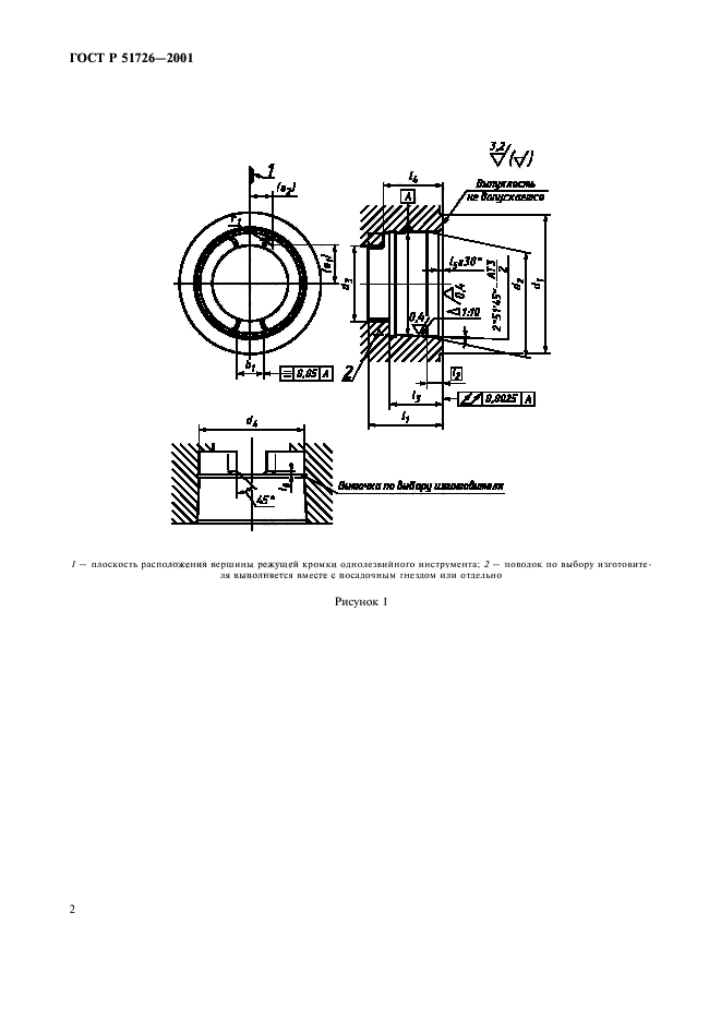
| Название рус.: | Крепление инструментов с полым коническим хвостовиком (HSK) типа А. Присоединительные размеры |
| Название англ.: | Tool receiver for type A hollow taper shanks. Connecting dimensions |
| Дата актуализации текста: | 06.04.2015 |
| Дата актуализации описания: | 01.07.2023 |
| Дата издания: | 18.05.2001 |
| Дата введения: | 01.07.2002 |
| Дата окончания срока действия: | 01.07.2014 |
| Код ОКП: | 392800 |
| Заменяющий: | ГОСТ Р ИСО 12164-2-2013 |
| Нормативные ссылки: | ГОСТ Р 51547-2000;DIN 69063-1-95 |
| Область применения: | Настоящий стандарт распространяется на присоединительные размеры посадочного гнезда для крепления полых конических хвостовиков (HSK) типа А |
|
| Расположен в: |
|