| Обозначение: |  ГОСТ Р 41.41-2001 |
| Статус: | отменён |
| Название рус.: | Единообразные предписания, касающиеся официального утверждения мотоциклов в связи с производимым ими шумом |
| Название англ.: | Uniform provisions concerning the approval of motor cycles with regard to noise |
| Дата актуализации текста: | 06.04.2015 |
| Дата актуализации описания: | 01.07.2023 |
| Дата издания: | 25.10.2001 |
| Дата введения: | 01.01.2002 |
| Дата окончания срока действия: | 01.09.2018 |
| Код ОКП: | 452850 |
| Взамен: | ГОСТ Р 51227-98 |
| Содержит требования: | Правила EEC UN № 41 |
| Нормативные ссылки: | ISO 10534-1:1996;ISO 10534-2:1996;ISO 10844:1994 |
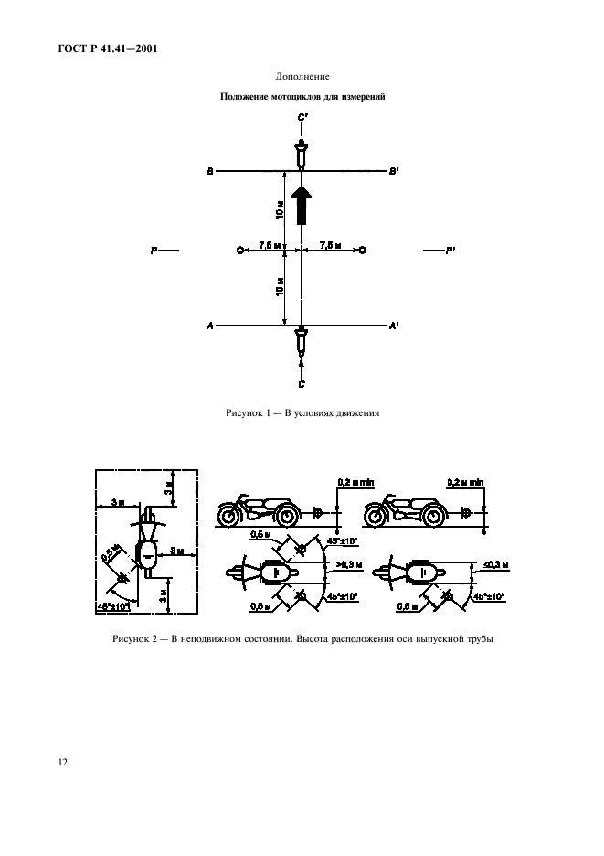
| Область применения: | Настоящие Правила касаются шума. производимого двухколесными мотоциклами, за исключением мотоциклов, максимальная конструктивная скорость которых не превышает 50 км/ч |
| Список изменений: | №0 от 31.08.2018 (рег. 18.07.2018) «Текстовое изменение; Изменено заглавие» №1 от 30.09.2002 (рег. 06.06.2002) «Текстовое изменение; Изменены ссылочные НД» |
| Приложение №1: | Изменение №1 к ГОСТ Р 41.41-2001 |
|
| Расположен в: |
|