| Обозначение: |  ГОСТ Р 52004-2003 |
| Статус: | отменён |
| Название рус.: | Воск зуботехнический базисный. Технические требования. Методы испытаний |
| Название англ.: | Dental baseplate wax. Technical requirements. Test methods |
| Дата актуализации текста: | 06.04.2015 |
| Дата актуализации описания: | 01.01.2021 |
| Дата издания: | 05.03.2003 |
| Дата введения: | 01.01.2004 |
| Дата окончания срока действия: | 01.01.2015 |
| Код ОКП: | 939100 |
| Содержит требования: | ISO 12163:1999 |
| На территории РФ пользоваться: | ГОСТ 31566-2012 |
| Нормативные ссылки: | ГОСТ 4255-90 |
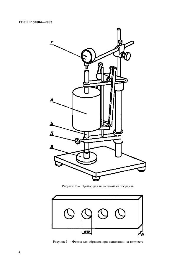
| Область применения: | Настоящий стандарт распространяется на зуботехнический базисный воск и устанавливает технические требования к базисному воску, состоящему из натуральных и синтетических восков, применяемых в основном для моделирования съемных, полных и частичных, пластиночных зубных протезов, а также методы испытаний |
| Список изменений: | №0 от 01.01.2015 (рег. 01.11.2012) «Текстовое изменение; Изменено заглавие» |
|
| Расположен в: |
|