| Обозначение: |    ГОСТ 5812-2014 | 
| Статус: | действующий | 
| Название рус.: | Костыли для железных дорог. Общие технические условия | 
| Название англ.: | Fastening for railways. General technical specifications | 
| Дата актуализации текста: | 01.01.2021 | 
| Дата актуализации описания: | 01.07.2023 | 
| Дата регистрации: | 25.06.2014 | 
| Дата издания: | 18.09.2019 | 
| Дата введения: | 01.03.2015 | 
| Взамен: |  ГОСТ 5812-82 | 
| Нормативные ссылки: |  ГОСТ 15.309; ГОСТ 162; ГОСТ 164; ГОСТ 166; ГОСТ 380; ГОСТ 535; ГОСТ 14019; ГОСТ 14192; ГОСТ 15102; ГОСТ 15150; ГОСТ 18321; ГОСТ 20435; ГОСТ 22225; ГОСТ 26653 | 
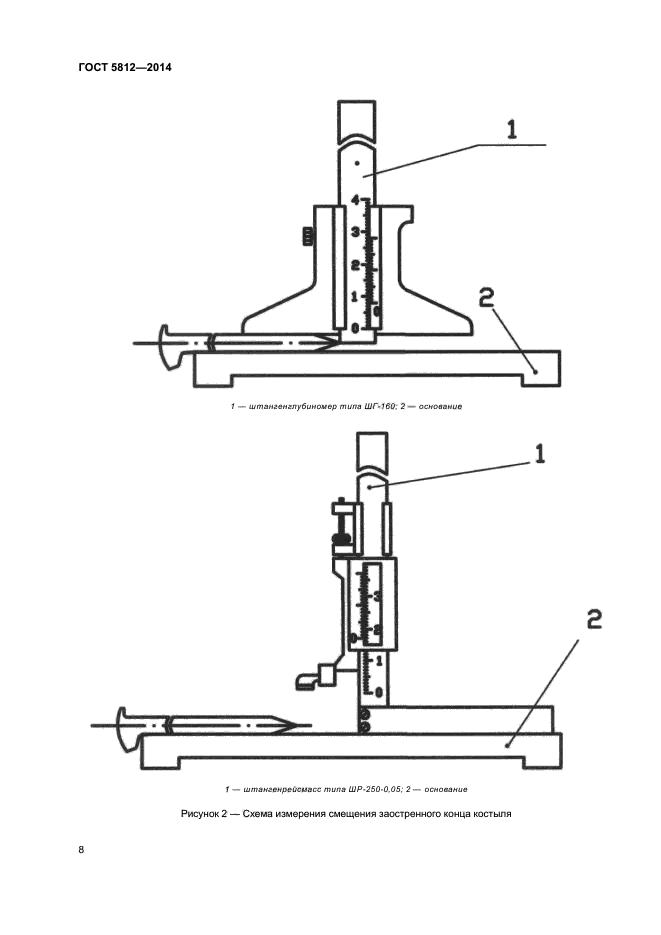
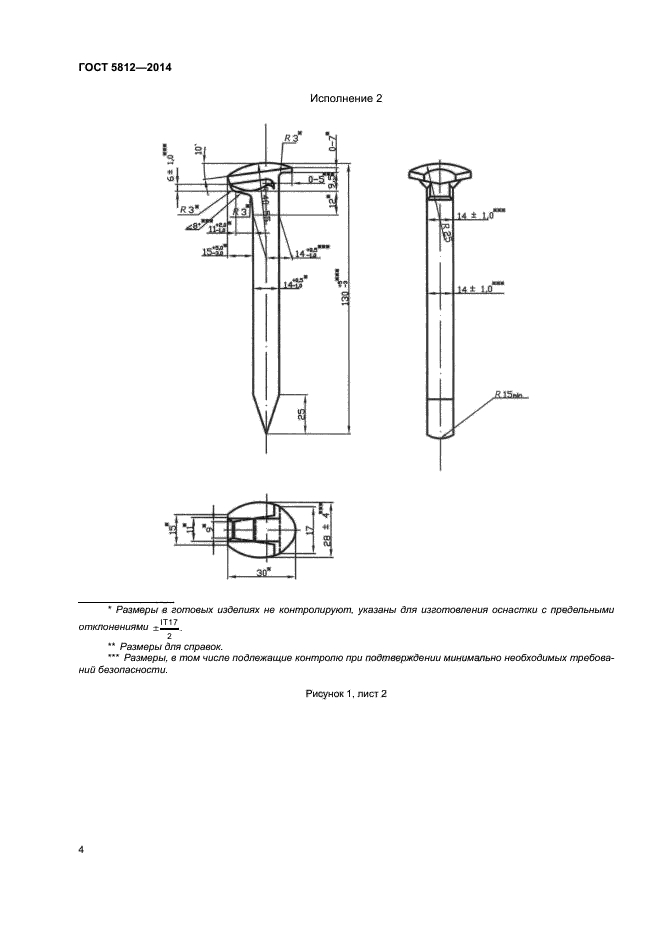
| Область применения: | Настоящий стандарт распространяется на костыли для железных дорог (далее - костыли), применяемые для прикрепления металлических подкладок или рельсов к деревянным подрельсовым основаниям в рельсовых скреплениях, и устанавливает технические требования и методы контроля | 
 | 
| Расположен в: | 
  |