Информационная система
«Ёшкин Кот»

Скачать базу одним архивом
Скачать обновления
История создания базы
Карта сайта

Скачать ГОСТ Р 56125-2014 Возобновляемая энергетика. Гидроэнергетика. Руководство по электромеханическому оборудованию для гидроэлектрических установок малой мощности

Дата актуализации: 01.06.2025

ГОСТ Р 56125-2014

Возобновляемая энергетика. Гидроэнергетика. Руководство по электромеханическому оборудованию для гидроэлектрических установок малой мощности

Обозначение: ГОСТ Р 56125-2014
Статус:действующий
Название рус.:Возобновляемая энергетика. Гидроэнергетика. Руководство по электромеханическому оборудованию для гидроэлектрических установок малой мощности
Название англ.:Renewable power engineering. Hydropower engineering. Electromechanical equipment guide for small hydroelectric installations
Дата актуализации текста:06.04.2015
Дата актуализации описания:01.07.2023
Дата издания:02.03.2015
Дата введения:01.07.2016
Содержит требования:IEC 61116(1992)
Нормативные ссылки:ГОСТ Р 51238-98;ГОСТ 5616-89;ГОСТ 24291-90;ГОСТ 25941-83
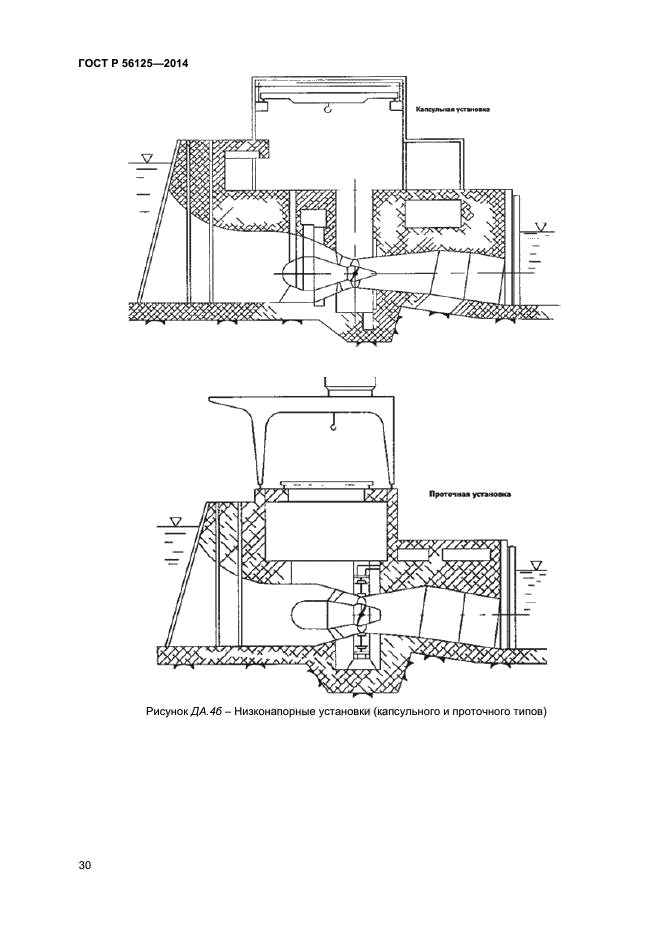
Область применения:Настоящий стандарт является руководством по поставке электромеханического оборудования для гидроэлектрических установок с агрегатами, выходная мощность которых не превышает 5 МВт, а номинальный диаметр рабочего колеса не превышает 3 м (гидроэлектрических установок малой мощности). Данные границы условны и не определяют абсолютных пределов изменения мощности и габаритных размеров. Настоящий стандарт регламентирует отношения между покупателем (заказчиком) и поставщиком гидроэлектрических установок малой мощности (далее - гидроэлектростанция, ГЭС) и их электромеханического оборудования (далее - оборудование). Настоящий стандарт не распространяется на строительные работы, не содержит административные или коммерческие условия поставки. Целью настоящего стандарта является информационная поддержка заказчика оборудования при: - подготовке конкурсных документов (подготовке запроса на поставку ГЭС или оборудования); - оценке конкурсных документов; - взаимодействия с поставщиком во время проектирования и изготовления оборудования; - контроле качества на стадии производства и продвижения на рынок; - монтаже на месте установки; - сдаче в эксплуатацию; - проведении аттестационных испытаний; - эксплуатации и обслуживании. Настоящий стандарт содержит: - основные требования к электромеханическому оборудованию гидроэлектрических установок малой мощности; - технические спецификации электромеханического оборудования, исключая габаритные размеры и стандартные ряды; - требования по аттестации, эксплуатации и обслуживанию. Требования настоящего стандарта не распространяются на начальную стадию исследований по созданию гидроэлектрических установок малой мощности, то есть на предварительное исследование и технико-экономическое обоснование. Настоящий стандарт также не содержит требований к экономическим исследованиям при создании гидроэлектрических установок малой мощности. Настоящий стандарт не заменяет собой обязательные требования к проектированию, производству, пуско-наладочным работам и проведения испытаний оборудования
Расположен в:Государственные стандарты Общероссийский классификатор стандартов Энергетика и теплотехника Гидроэнергетика Электротехника Машины электрические вращающиеся Генераторы Классификатор государственных стандартов Энергетическое и электротехническое оборудование Электростанции, подстанции и распределительные устройства Гидроэлектростанции
ГОСТ Р 56125-2014ГОСТ Р 56125-2014ГОСТ Р 56125-2014ГОСТ Р 56125-2014ГОСТ Р 56125-2014ГОСТ Р 56125-2014ГОСТ Р 56125-2014ГОСТ Р 56125-2014ГОСТ Р 56125-2014ГОСТ Р 56125-2014ГОСТ Р 56125-2014ГОСТ Р 56125-2014ГОСТ Р 56125-2014ГОСТ Р 56125-2014ГОСТ Р 56125-2014ГОСТ Р 56125-2014ГОСТ Р 56125-2014ГОСТ Р 56125-2014ГОСТ Р 56125-2014ГОСТ Р 56125-2014ГОСТ Р 56125-2014ГОСТ Р 56125-2014ГОСТ Р 56125-2014ГОСТ Р 56125-2014ГОСТ Р 56125-2014ГОСТ Р 56125-2014ГОСТ Р 56125-2014ГОСТ Р 56125-2014ГОСТ Р 56125-2014ГОСТ Р 56125-2014ГОСТ Р 56125-2014ГОСТ Р 56125-2014ГОСТ Р 56125-2014ГОСТ Р 56125-2014ГОСТ Р 56125-2014ГОСТ Р 56125-2014ГОСТ Р 56125-2014ГОСТ Р 56125-2014ГОСТ Р 56125-2014ГОСТ Р 56125-2014

© 2013 Ёшкин Кот :-) Карта сайта