| Обозначение: |  ГОСТ Р 56289-2014 |
| Статус: | заменён |
| Название рус.: | Конструкции светопрозрачные легкосбрасываемые для зданий. Методы испытаний на воздействие внутреннего аварийного взрыва |
| Дата актуализации текста: | 01.01.2021 |
| Дата актуализации описания: | 01.12.2024 |
| Дата издания: | 30.10.2019 |
| Дата введения: | 01.07.2015 |
| Дата окончания срока действия: | 01.08.2024 |
| Заменяющий: | ГОСТ Р 56289-2023 |
| Нормативные ссылки: | ГОСТ 12.1.004; ГОСТ Р 8.568; ГОСТ Р 8.654; ГОСТ Р 12.1.019; ГОСТ Р 56288 |
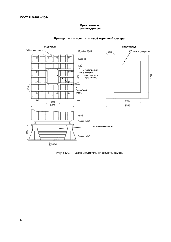
| Область применения: | Настоящий стандарт устанавливает методы испытаний на воздействие внутреннего аварийного взрыва светопрозрачных легкосбрасываемых конструкций [далее - легкосбрасываемые конструкции (ЛСК)], используемых для обеспечения взрывоустойчивости зданий различного назначения |
| Список изменений: | №0 от 23.10.2015 (рег. 23.10.2015) «Дата введения перенесена» |
| Приложение №1: | Поправка к ГОСТ Р 56289-2014 |
|
| Расположен в: |
|