| Обозначение: |  ГОСТ Р ИСО 20121-2014 |
| Статус: | действующий |
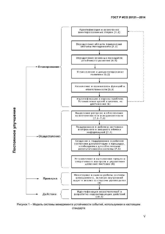
| Название рус.: | Cистемы менеджмента устойчивого развития. Требования и практическое руководство по менеджменту устойчивости событий |
| Дата актуализации текста: | 06.04.2015 |
| Дата актуализации описания: | 01.01.2021 |
| Дата издания: | 02.03.2015 |
| Дата введения: | 01.12.2015 |
| Аутентичен стандартам: | ISO 20121:2012 |
| Область применения: | В настоящем стандарте установлены требования к системе менеджмента устойчивости событий в отношении событий любого типа, а также связанной с событиями деятельности, и приведено руководство по обеспечению соответствия этим требованиям. В настоящем стандарте рассмотрен менеджмент устойчивого развития по всему циклу управления событиями |
|
| Расположен в: |
|