| Обозначение: |  ГОСТ Р 54418.25.3-2014 |
| Статус: | действующий |
| Название рус.: | Возобновляемая энергетика. Ветроэнергетика. Установка ветроэнергетические. Часть 25-3. Коммуникации для текущего контроля и управления ветровыми электростанциями. Процессы передачи информации при отслеживании состояния и управления ветроэлектрическими установками |
| Дата актуализации текста: | 01.01.2021 |
| Дата актуализации описания: | 01.07.2023 |
| Дата издания: | 02.03.2015 |
| Дата введения: | 01.07.2016 |
| Содержит требования: | IEC 61400-25-3(2006) |
| Нормативные ссылки: | ГОСТ Р МЭК 61850-7-2-2009; ГОСТ Р 54418.25 |
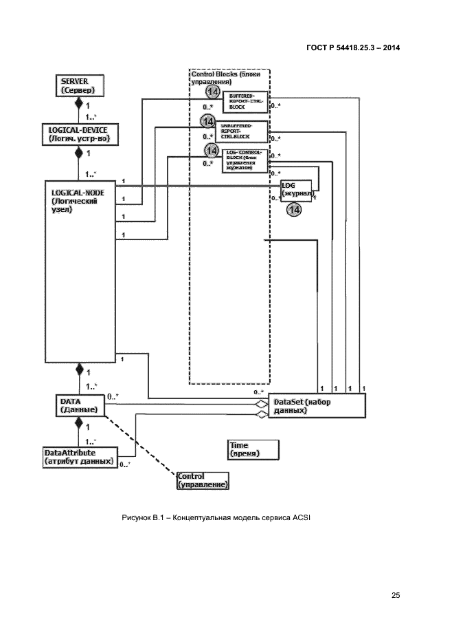
| Область применения: | Настоящий стандарт определяет абстрактный интерфейс услуг связи (ACSI), описывающий связи между клиентом и удаленным сервером для: - доступа к данным и поиска данных в режиме реального времени; - управления устройством; - регистрации событий и составления отчетов по событиям; - взаимодействия сервера публикации/подписчика; - самоописания устройств (словарь данных устройства); - печати данных и определения типов данных |
| Список изменений: | №0 от 06.09.2015 (рег. 06.09.2015) «Дата введения перенесена» |
| Приложение №1: | Поправка к ГОСТ Р 54418.25.3-2014 |
|
| Расположен в: |
|