| Обозначение: |  ГОСТ Р 56027-2014 |
| Статус: | действующий |
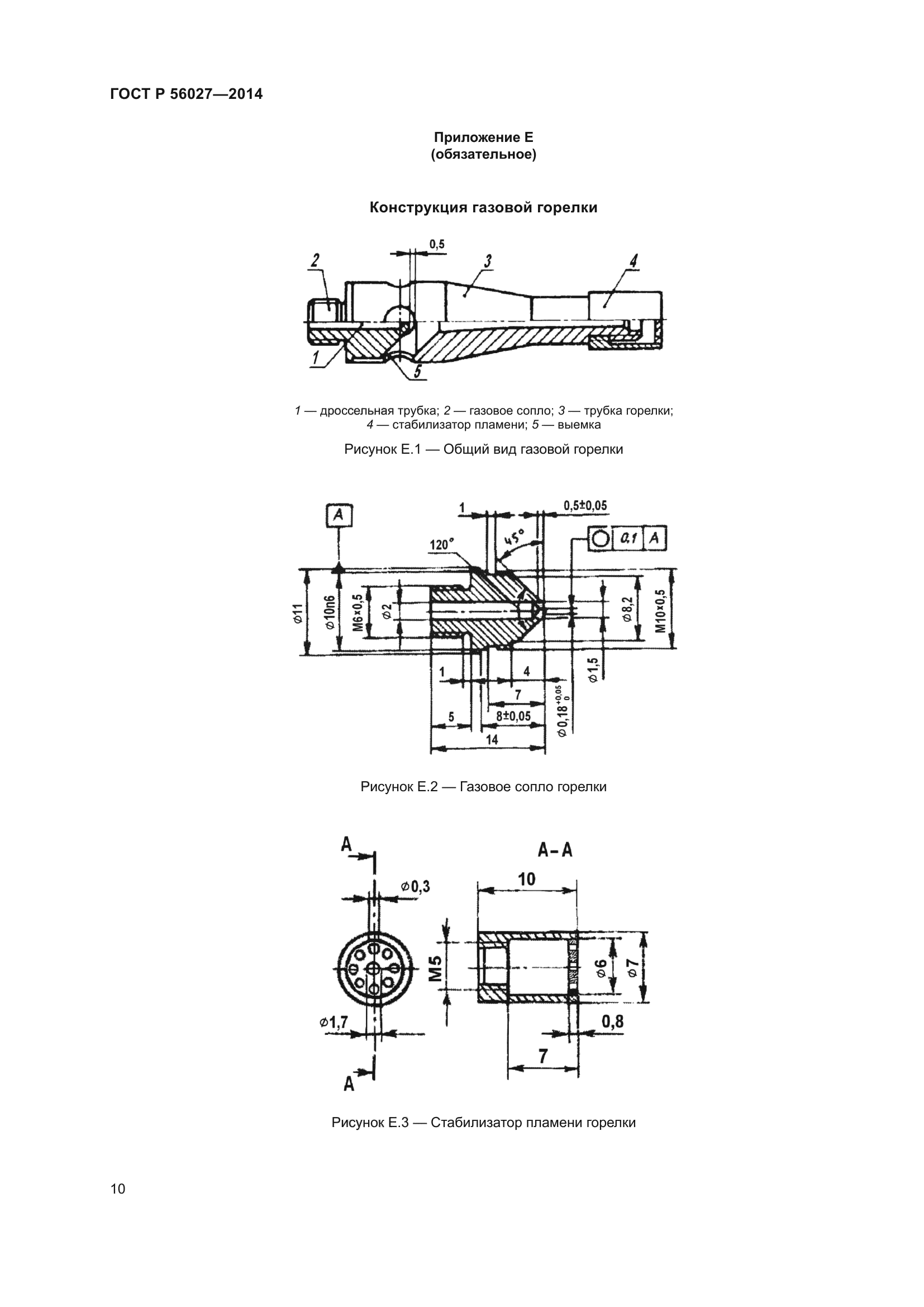
| Название рус.: | Материалы строительные. Метод испытаний на возгораемость под воздействием малого пламени |
| Дата актуализации текста: | 01.06.2022 |
| Дата актуализации описания: | 01.07.2023 |
| Дата издания: | 03.10.2019 |
| Дата введения: | 01.09.2014 |
| Нормативные ссылки: | ISO 11925-2:2010; ГОСТ 12.1.005; ГОСТ 745; ГОСТ 12026 |
| Область применения: | Настоящий стандарт устанавливает требования к методу испытания строительных материалов на возгораемость под воздействием малого пламени. Настоящий стандарт распространяется на все виды однородных и многослойных строительных материалов, а также на лакокрасочные покрытия, кровельные мастики, мастичные покрытия и другие материалы строительного назначения |
|
| Расположен в: |
|