Информационная система
«Ёшкин Кот»

Скачать базу одним архивом
Скачать обновления
История создания базы
Карта сайта

Скачать ГОСТ Р 54125-2010 Безопасность машин и оборудования. Принципы обеспечения безопасности при проектировании

Дата актуализации: 01.06.2025

ГОСТ Р 54125-2010

Безопасность машин и оборудования. Принципы обеспечения безопасности при проектировании

Обозначение: ГОСТ Р 54125-2010
Статус:действующий
Название рус.:Безопасность машин и оборудования. Принципы обеспечения безопасности при проектировании
Название англ.:Safety of machinery and equipment. Principles for safety ensuring while designing
Дата актуализации текста:01.01.2021
Дата актуализации описания:01.07.2023
Дата издания:17.04.2014
Дата введения:01.06.2012
Содержит требования:ISO 12100:2010
Нормативные ссылки:ГОСТ Р ЕН 614-1-2003;ГОСТ Р ИСО 9355-1-2009;ГОСТ Р ИСО 10075-2011;ГОСТ Р ИСО 10075-2-2009;ГОСТ Р ИСО 13849-1-2003;ГОСТ Р ИСО 14122-3-2009;ГОСТ Р МЭК 60079-11-2010;ГОСТ Р МЭК 60204-1-2007;ГОСТ Р МЭК 61508-1-2007;ГОСТ Р МЭК 61508-3-2007
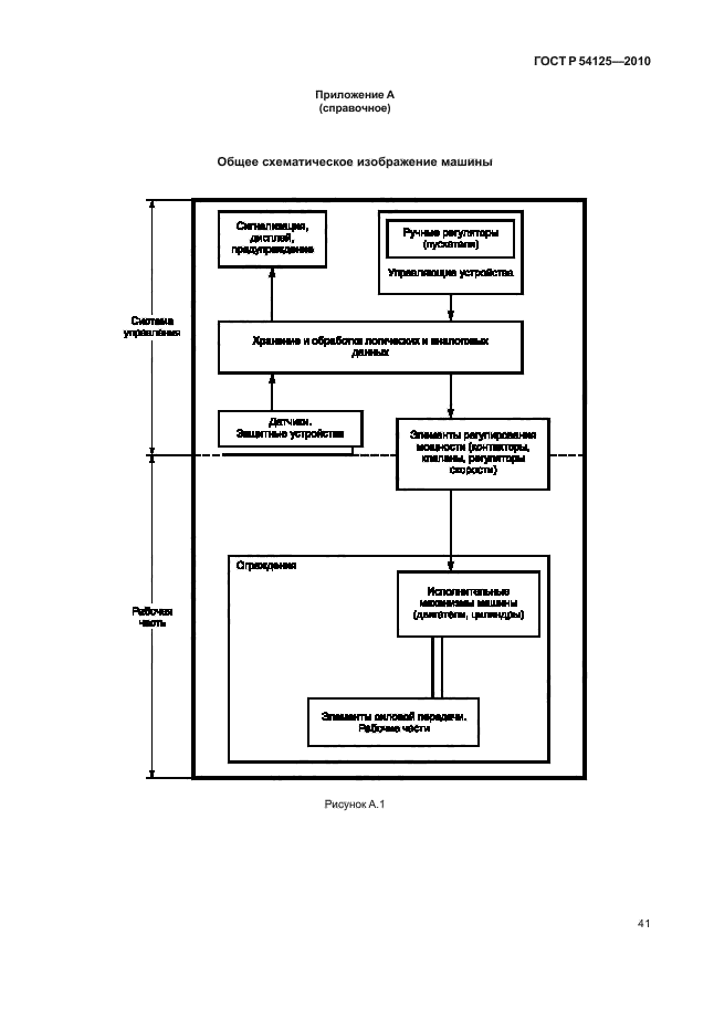
Область применения:Настоящий стандарт определяет основные термины и устанавливает методы и принципы оценки и снижения риска, помогающие конструкторам обеспечить безопасность машин. Эти принципы основаны на знаниях и опыте, полученных в результате конструирования, использования машин и оборудования, анализа их неполадок, несчастных случаев и рисков, связанных с эксплуатацией механизмов; они являются основой для оценки и устранения потенциальной опасности или снижения риска ее возникновения на протяжении всего срока эксплуатации машины. Предполагается использовать настоящий стандарт как основу для разработки стандартов типа В или типа С. Положения настоящего стандарта должны учитываться конструкторами. В настоящем стандарте не рассматриваются вопросы, связанные с безопасностью домашних животных, нанесением ущерба имуществу или окружающей среде. Настоящий стандарт дает руководящие принципы, касающиеся информации, необходимой для выполнения оценки риска. Описаны процедуры идентификации факторов опасности и оценки риска. Настоящий стандарт обеспечивает руководящие принципы, касающиеся решений, которые необходимо принять для обеспечения безопасности оборудования, и типа документации, требуемой для проверки выполненной оценки риска и принятых мер по снижению риска
Расположен в:Государственные стандарты Общероссийский классификатор стандартов Охрана окружающей среды, защита человека от воздействия окружающей среды. Безопасность Безопасность механизмов Классификатор государственных стандартов Машины, оборудование и инструмент Общие правила и нормы по машиностроению Техника безопасности Технические регламенты РФ Технический регламент 'О безопасности машин и оборудования' Стандарты на техническую документацию
ГОСТ Р 54125-2010ГОСТ Р 54125-2010ГОСТ Р 54125-2010ГОСТ Р 54125-2010ГОСТ Р 54125-2010ГОСТ Р 54125-2010ГОСТ Р 54125-2010ГОСТ Р 54125-2010ГОСТ Р 54125-2010ГОСТ Р 54125-2010ГОСТ Р 54125-2010ГОСТ Р 54125-2010ГОСТ Р 54125-2010ГОСТ Р 54125-2010ГОСТ Р 54125-2010ГОСТ Р 54125-2010ГОСТ Р 54125-2010ГОСТ Р 54125-2010ГОСТ Р 54125-2010ГОСТ Р 54125-2010ГОСТ Р 54125-2010ГОСТ Р 54125-2010ГОСТ Р 54125-2010ГОСТ Р 54125-2010ГОСТ Р 54125-2010ГОСТ Р 54125-2010ГОСТ Р 54125-2010ГОСТ Р 54125-2010ГОСТ Р 54125-2010ГОСТ Р 54125-2010ГОСТ Р 54125-2010ГОСТ Р 54125-2010ГОСТ Р 54125-2010ГОСТ Р 54125-2010ГОСТ Р 54125-2010ГОСТ Р 54125-2010ГОСТ Р 54125-2010ГОСТ Р 54125-2010ГОСТ Р 54125-2010ГОСТ Р 54125-2010ГОСТ Р 54125-2010ГОСТ Р 54125-2010ГОСТ Р 54125-2010ГОСТ Р 54125-2010ГОСТ Р 54125-2010ГОСТ Р 54125-2010ГОСТ Р 54125-2010ГОСТ Р 54125-2010ГОСТ Р 54125-2010ГОСТ Р 54125-2010ГОСТ Р 54125-2010ГОСТ Р 54125-2010ГОСТ Р 54125-2010ГОСТ Р 54125-2010ГОСТ Р 54125-2010ГОСТ Р 54125-2010ГОСТ Р 54125-2010

© 2013 Ёшкин Кот :-) Карта сайта