| Обозначение: |    ГОСТ Р ИСО 12981-1-2014 | 
| Статус: | действующий | 
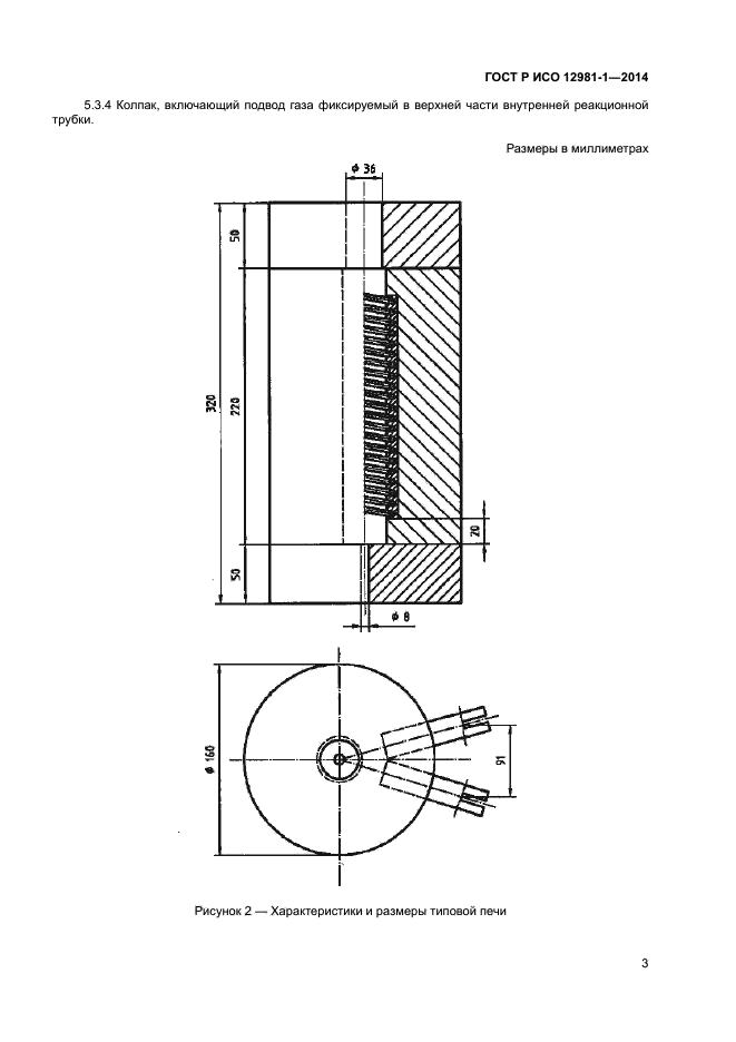
| Название рус.: | Материалы углеродные для производства алюминия. Определение способности прокаленного кокса реагировать с диоксидом углерода. Часть 1. Метод потери массы | 
| Дата актуализации текста: | 06.04.2015 | 
| Дата актуализации описания: | 01.07.2023 | 
| Дата издания: | 25.11.2019 | 
| Дата введения: | 01.07.2015 | 
| Код ОКП: | 191000 | 
| Аутентичен стандартам: | ISO 12981-1:2000 | 
| Нормативные ссылки: | ISO 383;ISO 5725-2;ISO 6375;ISO 8723;ISO 12984 | 
| Область применения: | Настоящий стандарт устанавливает метод определения способности прокаленного нефтяного кокса, используемого для изготовления анодов в производстве алюминия, реагировать с диоксидом углерода | 
 | 
| Расположен в: | 
  |