| Обозначение: |  ГОСТ IEC 60079-2-2013 |
| Статус: | действующий |
| Название рус.: | Взрывоопасные среды. Часть 2. Оборудование с видом взрывозащиты оболочки под избыточным давлением (р) |
| Дата актуализации текста: | 01.01.2021 |
| Дата актуализации описания: | 01.07.2023 |
| Дата регистрации: | 27.09.2013 |
| Дата издания: | 12.01.2015 |
| Дата введения: | 01.07.2015 |
| Аутентичен стандартам: | prIEC 60079-2 |
| Нормативные ссылки: | IEC 60034-5;IEC 60050-151;IEC 60050-426;IEC 60079-0;IEC 60112;IEC 60529;IEC 60664-1(2007);IEC 60079-11;IEC 60079-15;IEC 60127 |
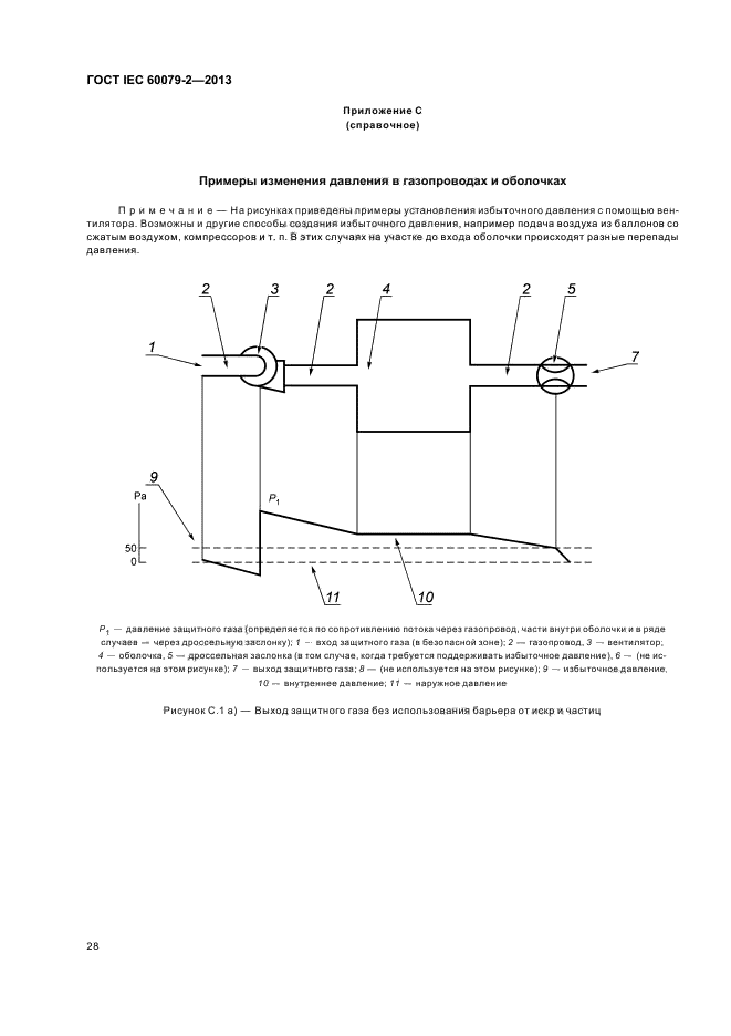
| Область применения: | Настоящий стандарт содержит специальные требования к конструкции и испытаниям электрооборудования с оболочками под давлением, обеспечивающими взрывозащиту вида «р» и предназначенными для использования во взрывоопасных газовых или пылевых средах. Настоящий стандарт устанавливает требования к оболочкам под давлением с ограниченной утечкой воспламеняющегося вещества |
| Приложение №1: | Поправка к ГОСТ IEC 60079-2-2013 |
|
| Расположен в: |
|