| ||||||||||||||||||||||||||||
Скачать ГОСТ Р 55749-2013 Информационно-коммуникационные технологии в образовании. Интегрированная автоматизированная система управления общеобразовательной организацией. Общие положенияДата актуализации: 01.06.2025
| ||||||||||||||||||||||||||||
| Обозначение: | ![]() ГОСТ Р 55749-2013 |
| Статус: | действующий |
| Название рус.: | Информационно-коммуникационные технологии в образовании. Интегрированная автоматизированная система управления общеобразовательной организацией. Общие положения |
| Дата актуализации текста: | 01.01.2021 |
| Дата актуализации описания: | 01.07.2023 |
| Дата издания: | 29.11.2018 |
| Дата введения: | 01.01.2015 |
| Код ОКП: | 696000 |
| Нормативные ссылки: | ГОСТ Р ИСО/МЭК 2382-36; ГОСТ Р ИСО 9241-1;ГОСТ ISO 9000;ГОСТ ISO 9001; ГОСТ Р ИСО/МЭК 9126; ГОСТ Р ИСО/МЭК 12119; ГОСТ Р ИСО/МЭК ТО 12182; ГОСТ Р ИСО/МЭК 12207; ГОСТ Р ИСО/МЭК 15408-1; ГОСТ Р ИСО/МЭК 15408-2; ГОСТ Р ИСО/МЭК 15408-3; ГОСТ Р 52294; ГОСТ Р 52653; ГОСТ Р 52872; ГОСТ Р 53620; ГОСТ Р 53625; ГОСТ Р 53723; ГОСТ Р 54623; ГОСТ Р 54818; ГОСТ Р 57193 |
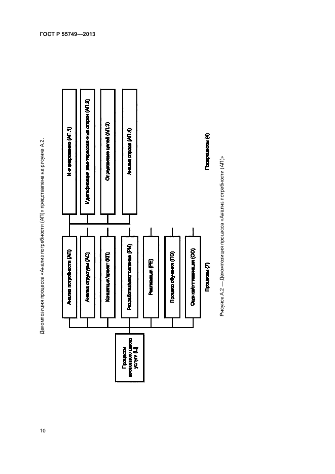
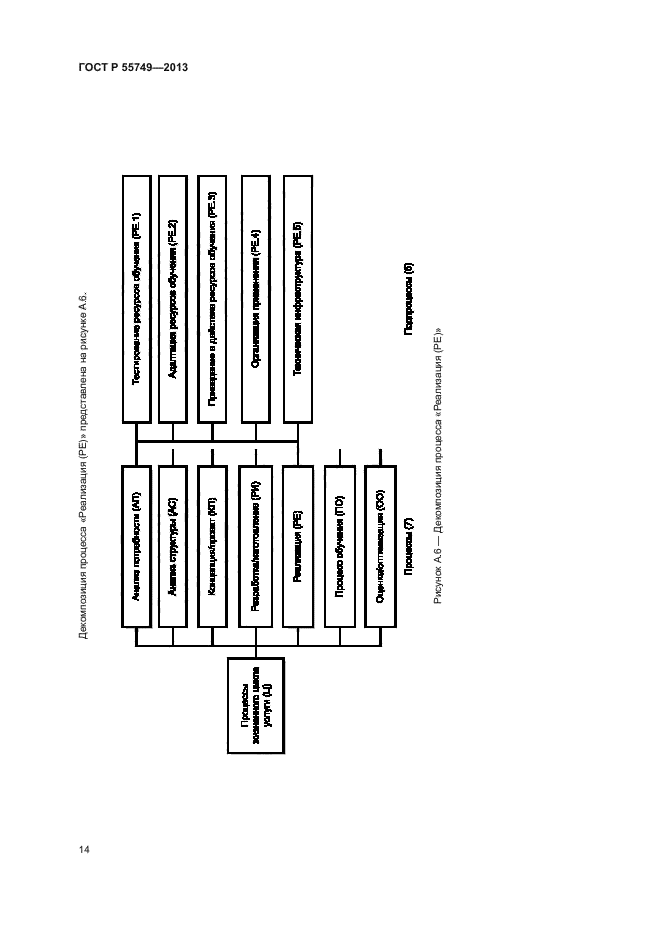
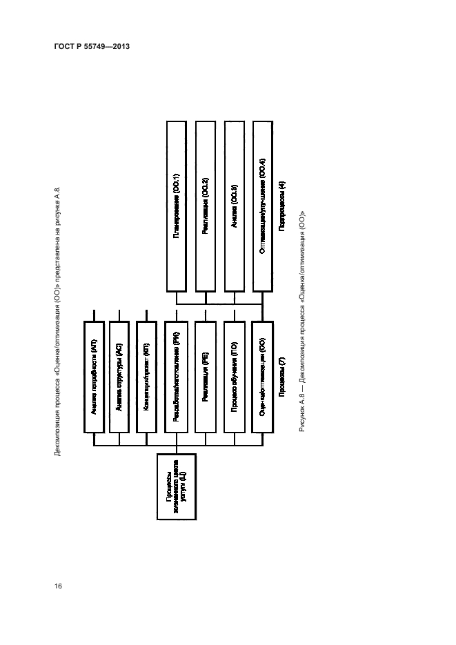
| Область применения: | Настоящий стандарт устанавливает общие положения применительно к интегрированной автоматизированной системе управления общеобразовательной организацией, обеспечивающей реализацию государственной политики в области образования, открытость и доступность образования для всех форм общего образования, качество и эффективность управления общеобразовательной организацией, выполнение требований федеральных образовательных стандартов при реализации образовательных программ на основе системного применения средств информационно-коммуникационных технологий и интеграции в информационно-образовательные среды на муниципальном, региональном, национальном и международном уровнях |
| Расположен в: | |






















