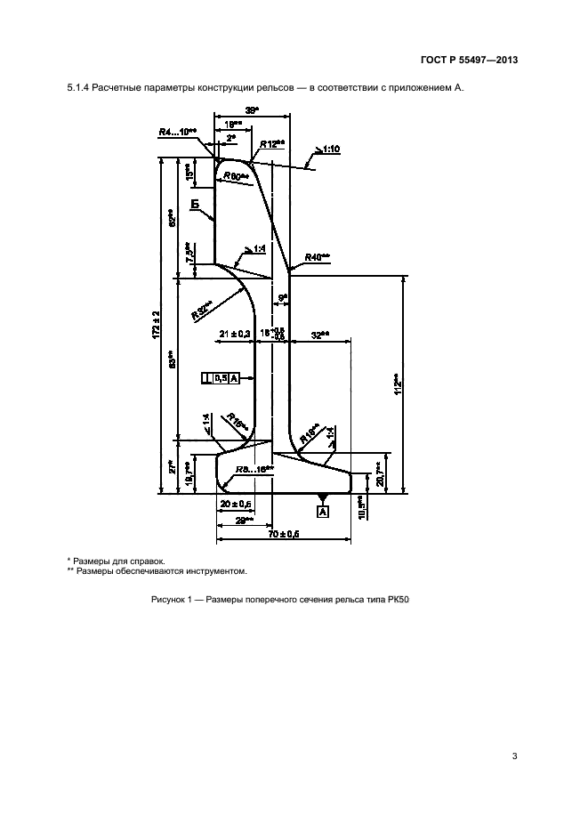
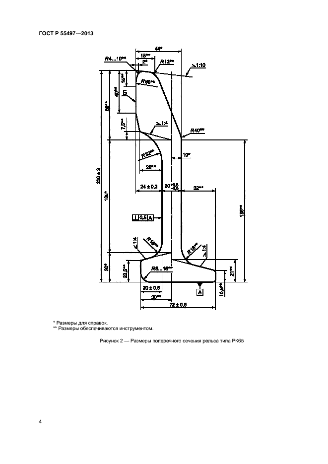
| ||||||||||||||||||||||||||||
Скачать ГОСТ Р 55497-2013 Рельсы железнодорожные контррельсовые. Технические условияДата актуализации: 01.06.2025
| ||||||||||||||||||||||||||||
| Обозначение: | ![]() ГОСТ Р 55497-2013 |
| Статус: | действующий |
| Название рус.: | Рельсы железнодорожные контррельсовые. Технические условия |
| Дата актуализации текста: | 01.01.2021 |
| Дата актуализации описания: | 01.07.2023 |
| Дата издания: | 30.10.2019 |
| Дата введения: | 01.01.2014 |
| Код ОКП: | 092100 |
| Нормативные ссылки: | ГОСТ Р 50542; ГОСТ 1497; ГОСТ 3749; ГОСТ 7565; ГОСТ 7566; ГОСТ 8925; ГОСТ 9012; ГОСТ 10243; ГОСТ 16504; ГОСТ 17745; ГОСТ 18321; ГОСТ 18895; ГОСТ 21014; ГОСТ 22536.1; ГОСТ 22536.2; ГОСТ 22536.3; ГОСТ 22536.4; ГОСТ 22536.5 |
| Область применения: | Настоящий стандарт распространяется на контррельсовые рельсы (далее - рельсы), а также уголки контррельсовые (далее - уголки) общего назначения, применяемые в конструкциях верхнего строения железнодорожного пути с железнодорожными рельсами разных конфигураций, предназначенные для эксплуатации со скоростями движения до 250 км/ч и устанавливает технические требования к ним |
| Расположен в: | |





















