Информационная система
«Ёшкин Кот»

Скачать базу одним архивом
Скачать обновления
История создания базы
Карта сайта

Скачать ГОСТ Р 55430-2013 Соединения трубопроводов разъемные. Оценка технического состояния и методы испытаний. Безопасность эксплуатации

Дата актуализации: 01.06.2025

ГОСТ Р 55430-2013

Соединения трубопроводов разъемные. Оценка технического состояния и методы испытаний. Безопасность эксплуатации

Обозначение: ГОСТ Р 55430-2013
Статус:действующий
Название рус.:Соединения трубопроводов разъемные. Оценка технического состояния и методы испытаний. Безопасность эксплуатации
Дата актуализации текста:01.01.2021
Дата актуализации описания:01.07.2023
Дата издания:13.03.2015
Дата введения:01.12.2013
Код ОКП:364790
Нормативные ссылки:ГОСТ Р 52720-2007;ГОСТ Р 54432-2011;ГОСТ Р 55429-2013;ГОСТ 12.1.044-89;ГОСТ 166-89;ГОСТ 2789-73;ГОСТ 5378-88;ГОСТ 8724-2002;ГОСТ 9399-81;ГОСТ 9400-81;ГОСТ 10493-81;ГОСТ 10494-80;ГОСТ 10495-80;ГОСТ 11447-80;ГОСТ 14068-79;ГОСТ 16093-2004;ГОСТ 18442-80;ГОСТ 19782-74;ГОСТ 21105-87;ГОСТ 26303-84;ГОСТ 26349-84;ГОСТ 28338-89
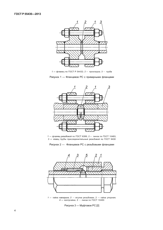
Область применения:Настоящий стандарт устанавливает требования, направленные на обеспечение промышленной безопасности, предупреждение аварий, случаев производственного травматизма при эксплуатации разъемных соединений технологических трубопроводов. Настоящий стандарт предназначен для обеспечения единого подхода при конструировании, изготовлении, модернизации, ремонте, техническом диагностировании и эксплуатации разъемных соединений технологических трубопроводов на опасных производственных объектах. Область применения стандарта - разъемные соединения стальных технологических трубопроводов с номинальными диаметрами от DN 3 до DN 4000 включительно, на номинальные давления от PN 1 до PN 2500 включительно, температуру среды от минус 196 °С до 700 °С включительно, предназначенных для транспортирования газообразных, парообразных, жидких сред и эксплуатирующихся на опасных производственных объектах
Расположен в:Государственные стандарты Общероссийский классификатор стандартов Гидравлические и пневматические системы и компоненты общего назначения Трубопроводы и их компоненты Фланцы, муфты и соединения Классификатор государственных стандартов Машины, оборудование и инструмент Общие детали и узлы машин Арматура и соединения трубопроводов Окп Продукция химического и нефтяного машиностроения Оборудование криогенное, компрессорное, холодильное, автогенное, газоочистное, насосы вакуумные Комплектные технологические линии, установки и агрегаты Запасные части к комплектным технологическим линиям, установкам и агрегатам
ГОСТ Р 55430-2013ГОСТ Р 55430-2013ГОСТ Р 55430-2013ГОСТ Р 55430-2013ГОСТ Р 55430-2013ГОСТ Р 55430-2013ГОСТ Р 55430-2013ГОСТ Р 55430-2013ГОСТ Р 55430-2013ГОСТ Р 55430-2013ГОСТ Р 55430-2013ГОСТ Р 55430-2013ГОСТ Р 55430-2013ГОСТ Р 55430-2013ГОСТ Р 55430-2013ГОСТ Р 55430-2013ГОСТ Р 55430-2013ГОСТ Р 55430-2013ГОСТ Р 55430-2013ГОСТ Р 55430-2013ГОСТ Р 55430-2013ГОСТ Р 55430-2013ГОСТ Р 55430-2013ГОСТ Р 55430-2013ГОСТ Р 55430-2013ГОСТ Р 55430-2013ГОСТ Р 55430-2013ГОСТ Р 55430-2013ГОСТ Р 55430-2013ГОСТ Р 55430-2013ГОСТ Р 55430-2013ГОСТ Р 55430-2013ГОСТ Р 55430-2013ГОСТ Р 55430-2013ГОСТ Р 55430-2013ГОСТ Р 55430-2013ГОСТ Р 55430-2013ГОСТ Р 55430-2013ГОСТ Р 55430-2013ГОСТ Р 55430-2013ГОСТ Р 55430-2013ГОСТ Р 55430-2013ГОСТ Р 55430-2013ГОСТ Р 55430-2013ГОСТ Р 55430-2013ГОСТ Р 55430-2013ГОСТ Р 55430-2013ГОСТ Р 55430-2013ГОСТ Р 55430-2013ГОСТ Р 55430-2013ГОСТ Р 55430-2013ГОСТ Р 55430-2013ГОСТ Р 55430-2013ГОСТ Р 55430-2013ГОСТ Р 55430-2013ГОСТ Р 55430-2013ГОСТ Р 55430-2013

© 2013 Ёшкин Кот :-) Карта сайта