| ||||||||||||||||||||||||||||
Скачать ГОСТ Р 55128-2012 Топливо твердое из бытовых отходов. Определение поведения при горенииДата актуализации: 01.06.2025
| ||||||||||||||||||||||||||||
| Обозначение: | ![]() ГОСТ Р 55128-2012 |
| Статус: | действующий |
| Название рус.: | Топливо твердое из бытовых отходов. Определение поведения при горении |
| Дата актуализации текста: | 01.01.2021 |
| Дата актуализации описания: | 01.07.2023 |
| Дата издания: | 01.08.2014 |
| Дата введения: | 01.07.2014 |
| Содержит требования: | CEN/TR 15716:2008 |
| Нормативные ссылки: | ГОСТ Р 54223-2010; ГОСТ Р 54224-201054226-2010; ГОСТ Р 54230-2010; ГОСТ Р 54231-2010; ГОСТ Р 54232-2010; ГОСТ Р 54233-2010; ГОСТ Р 54234-2010; ГОСТ Р 54235-2010; ГОСТ 54236-2010; ГОСТ Р ИСО 900-2008; ГОСТ Р 55118-2012 |
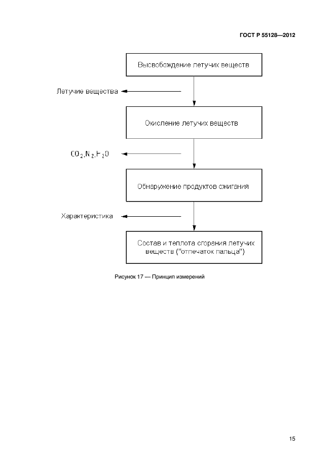
| Область применения: | Настоящий стандарт распространяется на все виды твердого топлива из бытовых отходов и устанавливает методы испытаний различных видов твердого топлива из бытовых отходов, в том числе по времени розжига, времени сжигания газовой фазы и времени сжигания угля |
| Расположен в: | |



































