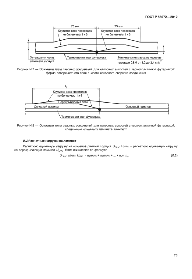
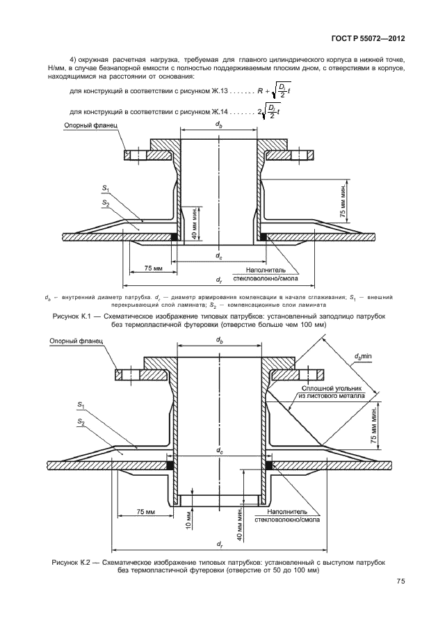
| ||||||||||||||||||||||||||||
Скачать ГОСТ Р 55072-2012 Емкости из реактопластов, армированных стекловолокном. Технические условияДата актуализации: 01.06.2025
| ||||||||||||||||||||||||||||
| Обозначение: | ![]() ГОСТ Р 55072-2012 |
| Статус: | действующий |
| Название рус.: | Емкости из реактопластов, армированных стекловолокном. Технические условия |
| Дата актуализации текста: | 01.01.2021 |
| Дата актуализации описания: | 01.07.2023 |
| Дата издания: | 26.01.2015 |
| Дата введения: | 01.01.2014 |
| Код ОКП: | 229650;229680 |
| Нормативные ссылки: | ГОСТ Р 12.1.019-2009; ГОСТ Р 50303-92; ГОСТ Р 52108-2003; ГОСТ Р 53228-2008; ГОСТ Р 53411-2009; ГОСТ Р 54559-2011; ГОСТ 12.1.004-91; ГОСТ 12.1.005-88; ГОСТ 12.1.018-93; ГОСТ 12.1.044-89; ГОСТ 12.2.003-91; ГОСТ 12.3.030-83; ГОСТ 12.4.004-74; ГОСТ 12.4.011-89; ГОСТ 12.4.021-75; ГОСТ 12.4.028-76; ГОСТ 12.4.068-79; ГОСТ 12.4.121-83; ГОСТ 17.1.3.13-86; ГОСТ 17.2.3.01-86; ГОСТ 17.2.3.02-78; ГОСТ 17.4.3.04-85; ГОСТ 427-75; ГОСТ 2768-84; ГОСТ 4651-82; ГОСТ 6433.3-71; ГОСТ 11262-80; ГОСТ 12015-66; ГОСТ 12019-66; ГОСТ 12020-72; ГОСТ 12423-66; ГОСТ 12820-80; ГОСТ 12971-67; ГОСТ 14192-96; ГОСТ 16971-71; ГОСТ 20010-93; ГОСТ 25336-82; ГОСТ 26277-84; ГОСТ 28840-90 |
| Область применения: | Настоящий стандарт распространяется на напорные и безнапорные емкости из реактопластов, армированных стекловолокном, футерованные и не футерованные термопластичным слоем, эксплуатируемые при температуре от минус 30 °С до плюс 110 °С, предназначенные для применения в технологических установках нефтехимической, нефтеперерабатывающей, нефтяной, газовой и других смежных отраслях промышленности, транспортном строительстве, системах водоотведения |
| Расположен в: | |















































































































































































