Информационная система
«Ёшкин Кот»

Скачать базу одним архивом
Скачать обновления
История создания базы
Карта сайта

Скачать ГОСТ Р 55175-2012 Атмосфера рудничная. Методы контроля запыленности

Дата актуализации: 01.06.2025

ГОСТ Р 55175-2012

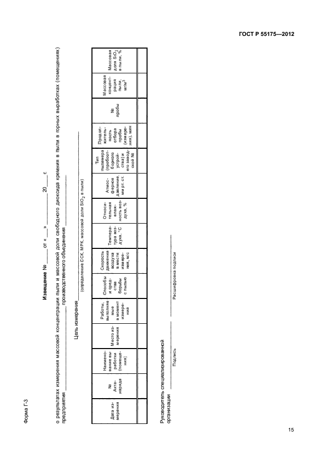
Атмосфера рудничная. Методы контроля запыленности

Обозначение: ГОСТ Р 55175-2012
Статус:действующий
Название рус.:Атмосфера рудничная. Методы контроля запыленности
Дата актуализации текста:01.01.2021
Дата актуализации описания:01.07.2023
Дата издания:29.11.2019
Дата введения:01.12.2013
Нормативные ссылки:ГОСТ Р ИСО 7708-2006;ГОСТ Р 53228-2008;ГОСТ Р 8.563;ГОСТ Р 8.736;ГОСТ 8.395;ГОСТ 12.1.004;ГОСТ 12.1.005;ГОСТ 12.1.007;ГОСТ 12.1.016;ГОСТ 12.4.009;ГОСТ 34100.1;ГОСТ 34100.3;ГОСТ 34100.3.1
Область применения:Настоящий стандарт устанавливает методы контроля запыленности рудничной атмосферы. Методы применяют для определения пневмокониозоопасности рабочих мест, индивидуальных пылевых нагрузок на работников, оценки уровней пылевыделения при работе технологического оборудования и эффективности выполнения противопылевых мероприятий. Требования настоящего стандарта распространяются на все производственные процессы, связанные с пылеобразованием и пылевыделением, как на угледобывающих, так и на предприятиях, занимающихся обогащением, переработкой и использованием угля. Настоящий стандарт предназначен для применения организациями теплоэнергетического комплекса независимо от форм собственности и ведомственной подчиненности, занимающимися эксплуатацией, проектированием, строительством, реконструкцией и закрытием предприятий угольной промышленности, а также при конструировании горного оборудования
Расположен в:Государственные стандарты Общероссийский классификатор стандартов Охрана окружающей среды, защита человека от воздействия окружающей среды. Безопасность Качество воздуха Атмосфера рабочей зоны Классификатор государственных стандартов Общетехнические и организационно-методические стандарты Система документации Система стандартов в области охраны природы и улучшения использования природных ресурсов, безопасности труда, научной организации труда
ГОСТ Р 55175-2012ГОСТ Р 55175-2012ГОСТ Р 55175-2012ГОСТ Р 55175-2012ГОСТ Р 55175-2012ГОСТ Р 55175-2012ГОСТ Р 55175-2012ГОСТ Р 55175-2012ГОСТ Р 55175-2012ГОСТ Р 55175-2012ГОСТ Р 55175-2012ГОСТ Р 55175-2012ГОСТ Р 55175-2012ГОСТ Р 55175-2012ГОСТ Р 55175-2012ГОСТ Р 55175-2012ГОСТ Р 55175-2012ГОСТ Р 55175-2012ГОСТ Р 55175-2012ГОСТ Р 55175-2012ГОСТ Р 55175-2012ГОСТ Р 55175-2012ГОСТ Р 55175-2012

© 2013 Ёшкин Кот :-) Карта сайта