| Обозначение: |  ГОСТ Р 55108-2012 |
| Статус: | заменён |
| Название рус.: | Глобальные навигационные спутниковые системы. Морские дифференциальные подсистемы. Контрольно-корректирующая станция. Общие требования, методы и требуемые результаты испытаний |
| Название англ.: | The Global navigation satellite systems. Maritime differential subsystems. Reference station. General requirements, test мethods and required test results |
| Дата актуализации текста: | 06.04.2015 |
| Дата актуализации описания: | 01.07.2023 |
| Дата издания: | 14.06.2013 |
| Дата введения: | 01.05.2013 |
| Дата окончания срока действия: | 01.01.2017 |
| Заменяющий: | ГОСТ Р 55108-2016 |
| Нормативные ссылки: | ГОСТ Р 52866-2007; ГОСТ Р 52928-2010; ГОСТ Р МЭК 60945-2007 |
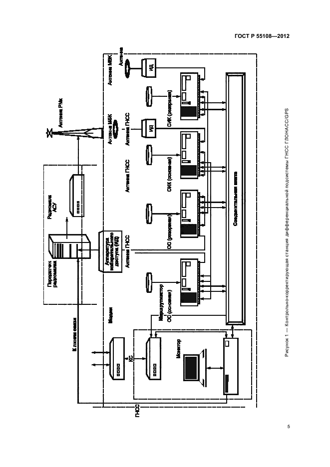
| Область применения: | Настоящий стандарт распространяется на контрольно-корректирующую станцию, входящую в состав морской дифференциальной подсистемы глобальной навигационной спутниковой системы ГЛОНАСС/GPS/ГАЛИЛЕО, используемой на водном транспорте. Настоящий стандарт устанавливает требования к контрольно-корректирующей станции в части формирования корректирующей информации и контроля качества функционирования контрольно-корректирующей станции и глобальной навигационной спутниковой системы ГЛОНАСС/GPS/ГАЛИЛЕО в рабочей зоне. Настоящий стандарт не распространяется на дополнительные возможности, связанные с вычислительными функциями и передачей выходных данных, которые обеспечены в аппаратуре и которые не должны ухудшать основные характеристики контрольно - корректирующей станции |
|
| Расположен в: |
|