| Обозначение: |  ГОСТ Р 54790-2011 |
| Статус: | действующий |
| Название рус.: | Испытания разрушающие сварных швов металлических материалов. Испытания на сопротивляемость образованию горячих трещин в сварных соединениях. Процессы дуговой сварки. Часть 3. Испытания с приложением внешней нагрузки |
| Название англ.: | Destructive tests on welds in metallic materials. Hot cracking tests for weldments. Arc welding processes. Part 3. Externally loaded tests |
| Дата актуализации текста: | 01.01.2021 |
| Дата актуализации описания: | 01.01.2021 |
| Дата издания: | 29.06.2020 |
| Дата введения: | 01.01.2013 |
| Аутентичен стандартам: | ISO/TR 17641-3:2005 |
| Нормативные ссылки: | EN ISO 17641-1:2004 |
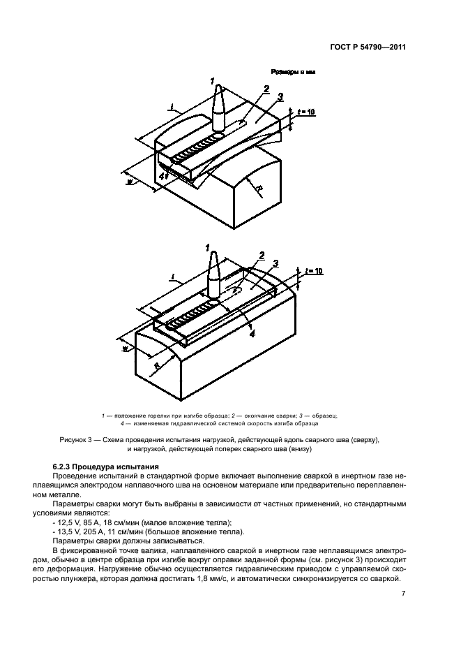
| Область применения: | Настоящий стандарт определяет методы и процедуры испытаний сварных соединений с приложением внешней нагрузки для оценки сопротивляемости образованию горячих трещин. Установлены следующие испытания: - на растяжение в горячем состоянии; - с приложением нагрузок, действующих вдоль и поперек сварного шва; - на плоскостное растяжение. Указанные испытания могут предоставлять информацию о сопротивляемости образованию горячих трещин основных материалов, металла сварных швов и сварных соединений. Оценка основывается на измерении «интервала температур хрупкости» (BTR), в котором возникают трещины |
|
| Расположен в: |
|