| Обозначение: |  ГОСТ Р ИСО 12164-4-2011 |
| Статус: | действующий |
| Название рус.: | Крепление инструментов с полым коническим хвостовиком (HSK) типа Т. Присоединительные размеры |
| Название англ.: | Tool receiver for type T hollow taper shanks (HSK). Connecting dimensions |
| Дата актуализации текста: | 06.04.2015 |
| Дата актуализации описания: | 01.07.2023 |
| Дата издания: | 28.04.2020 |
| Дата введения: | 01.01.2013 |
| Код ОКП: | 392800 |
| Аутентичен стандартам: | ISO 12164-4:2008 |
| Нормативные ссылки: | ISO 1101;ISO 2768-1;ISO 3040 |
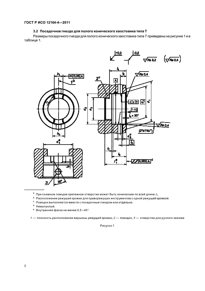
| Область применения: | Настоящий стандарт распространяется на присоединительные размеры посадочного гнезда для крепления полых конических хвостовиков (HSK) с прилеганием по плоскости к торцу шпинделя токарных и обрабатывающих (фрезерно-расточных) центров. Настоящий стандарт устанавливает присоединительные размеры посадочного гнезда хвостовиков типа Т по ГОСТ Р ИСО 12164-2011 для автоматической смены инструмента через паз на фланце и для ручной смены инструмента через отверстие в конической части хвостовика. Крутящий момент передается посредством торцовой шпонки на конце хвостовика, а также - силой трения |
|
| Расположен в: |
|