| Обозначение: |  ГОСТ Р 53737-2009 |
| Статус: | отменён |
| Название рус.: | Нефтяная и газовая промышленность. Поршневые компрессоры. Общие технические требования |
| Название англ.: | Petroleum and natural gas industries. Reciprocating compressors. General technical requirements |
| Дата актуализации текста: | 06.04.2015 |
| Дата актуализации описания: | 01.07.2023 |
| Дата издания: | 30.03.2012 |
| Дата введения: | 01.01.2011 |
| Дата окончания срока действия: | 01.02.2015 |
| Код ОКП: | 364310 |
| Содержит требования: | ISO 13707:2000 |
| На территории РФ пользоваться: | ГОСТ 31843-2013 |
| Нормативные ссылки: | ГОСТ Р ИСО 13706-2006; ГОСТ Р 52776-2007; ГОСТ Р МЭК 60079-0-2007; ГОСТ 12.2.016-81; ГОСТ 8724-2002 |
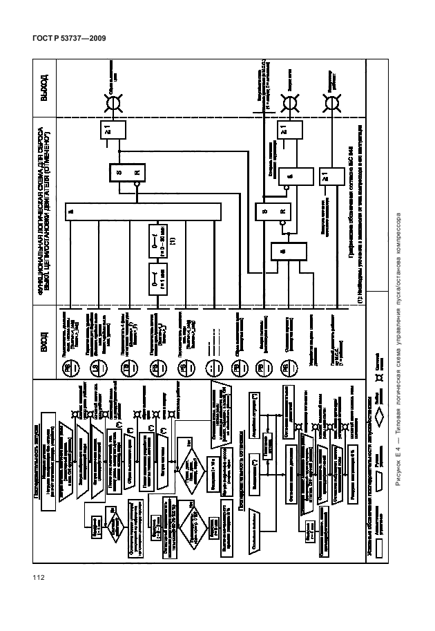
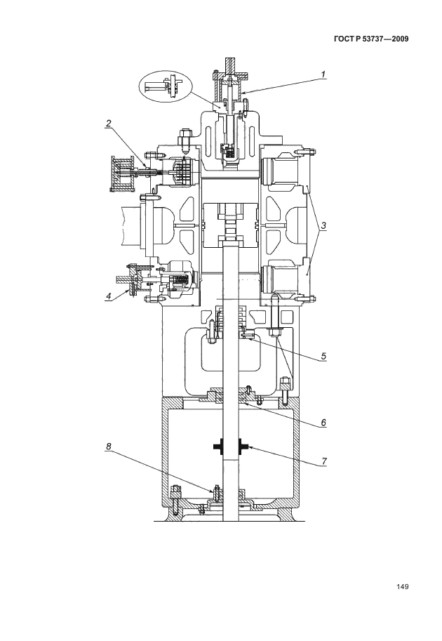
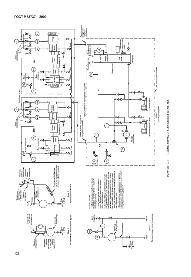
| Область применения: | Настоящий стандарт содержит минимальные требования для поршневых компрессоров и приводов к ним, используемых в нефтяной и газовой промышленности с цилиндрами со смазкой и без смазки. Настоящий стандарт может также по договоренности использоваться в других отраслях. Компрессоры, подпадающие под настоящий стандарт, включают в свой диапазон скорости от средней до низкой и пригодны для работы в экстремальных условиях. Сюда также включены относящиеся к ним системы подачи смазки, средства управления, контрольно-измерительная аппаратура, промежуточные охладители, выходные холодильники, устройства для подавления пульсации и другое оборудование. Сюда не входят встроенные газомоторные компрессорные агрегаты, блочные высокоскоростные съемные поршневые газовые компрессоры с механическим приводом, компрессоры с самодвижущимися поршнями однократного действия резиновой манжетой, которые служат также в качестве ползунов, общестанционные воздушные компрессоры или компрессоры воздуха КИП и А, которые разрежаются с манометрическим давлением 9 бар и ниже. Сюда также не входят приводы газовых и паровых двигателей |
| Список изменений: | №0 от 01.02.2015 (рег. 10.06.2014) «Текстовое изменение; Изменено заглавие» |
|
| Расположен в: |
|