| Обозначение: |    ГОСТ Р МЭК 62552-2011 | 
| Статус: | отменён | 
| Название рус.: | Приборы бытовые холодильные. Характеристики и методы испытаний | 
| Название англ.: | Household refrigerating appliances. Characteristics and test methods | 
| Дата актуализации текста: | 06.04.2015 | 
| Дата актуализации описания: | 01.07.2023 | 
| Дата издания: | 16.04.2012 | 
| Дата введения: | 01.07.2012 | 
| Дата окончания срока действия: | 01.03.2019 | 
| Код ОКП: | 515110;515620;515681 | 
| Аутентичен стандартам: | IEC 62552(2007) | 
| На территории РФ пользоваться: |  ГОСТ Р МЭК 62552-1-2018; ГОСТ Р МЭК 62552-2-2018; ГОСТ Р МЭК 62552-3-2018 | 
| Нормативные ссылки: | IEC 60335-2-24(2005) | 
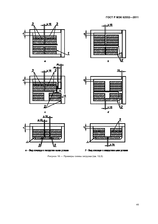
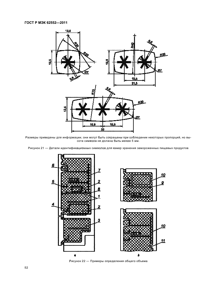
| Область применения: | Настоящий стандарт определяет основные параметры холодильных приборов бытового назначения заводского изготовления, охлаждаемых путем внутренней естественной конвекции или принудительной циркуляции воздуха, а также устанавливает методы испытания для проверки характеристик холодильных приборов. Настоящие испытания являются типовыми, поэтому, когда требуется проверка эксплуатационных параметров холодильного прибора данного типа применительно к настоящему стандарту, желательно, по возможности, чтобы все предусмотренные испытания проводились на одном приборе. Испытания можно также проводить в индивидуальном порядке в целях изучения отдельных характеристик | 
| Список изменений: | №0 от 01.03.2019 (рег. 14.05.2018) «Текстовое изменение; Изменено заглавие» | 
 | 
| Расположен в: | 
  |