| Обозначение: |  ГОСТ Р 54165-2010 |
| Статус: | отменён |
| Название рус.: | Стекло и изделия из него. Методы определения тепловых характеристик. Метод определения сопротивления теплопередаче |
| Название англ.: | Glass and glass products. Thermal properties determination methods. Thermal resistance determination method |
| Дата актуализации текста: | 06.04.2015 |
| Дата актуализации описания: | 01.07.2023 |
| Дата издания: | 03.02.2012 |
| Дата введения: | 01.07.2012 |
| Дата окончания срока действия: | 01.04.2016 |
| Содержит требования: | ISO 10293:1997 |
| На территории РФ пользоваться: | ГОСТ EN 675-2014 |
| Нормативные ссылки: | ГОСТ Р 54166-2010; ГОСТ Р 54168-2010 |
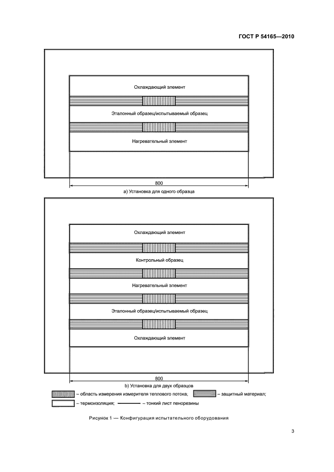
| Область применения: | Настоящий стандарт устанавливает способ измерения, используемый для определения величин сопротивления теплопередаче и коэффициента теплопередачи многослойного остекления с плоскими и параллельными поверхностями. Поверхности с рельефом, такие как узорчатое стекло, также могут рассматриваться как плоские. Настоящий стандарт применим к многослойному остеклению с внешними листами, которые непрозрачны для излучения в дальнем инфракрасном диапазоне, что выполняется в случае обычного стекла. Вместе с тем, внутренние элементы остекления могут быть прозрачными в дальнем инфракрасном диапазоне. Настоящий стандарт позволяет определить величины R (сопротивление теплопередаче) и U (коэффициент теплопередачи) в центральной области многослойного остекления. Краевые эффекты, связанные с тепловым мостиком через дистанционную рамку клееного стеклопакета или раму не рассматриваются. Кроме того, передача энергии за счет солнечного излучения также не учитывается |
| Список изменений: | №0 от 31.03.2016 (рег. 05.05.2015) «Текстовое изменение; Изменено заглавие» |
|
| Расположен в: |
|