| Обозначение: |  ГОСТ Р 54415-2011 |
| Статус: | действующий |
| Название рус.: | Оборудование для скейтплощадок. Безопасность конструкции и методы испытаний. Общие требования |
| Название англ.: | Equipment for skategrounds. Safety of structure and test methods. General requirements |
| Дата актуализации текста: | 01.06.2022 |
| Дата актуализации описания: | 01.07.2023 |
| Дата издания: | 25.11.2019 |
| Дата введения: | 01.01.2012 |
| Код ОКП: | 968960 |
| Нормативные ссылки: | ГОСТ Р ИСО/МЭК 50; ГОСТ Р ИСО/МЭК 17025; ГОСТ Р 52169; ГОСТ Р 58207-2018; ГОСТ 2.201; ГОСТ 9.303; ГОСТ 12.1.044-89; ГОСТ 3916.1; ГОСТ 3916.2; ГОСТ 20022.0; ГОСТ 20022.2; ГОСТ 30402-96;ОК 012-93 |
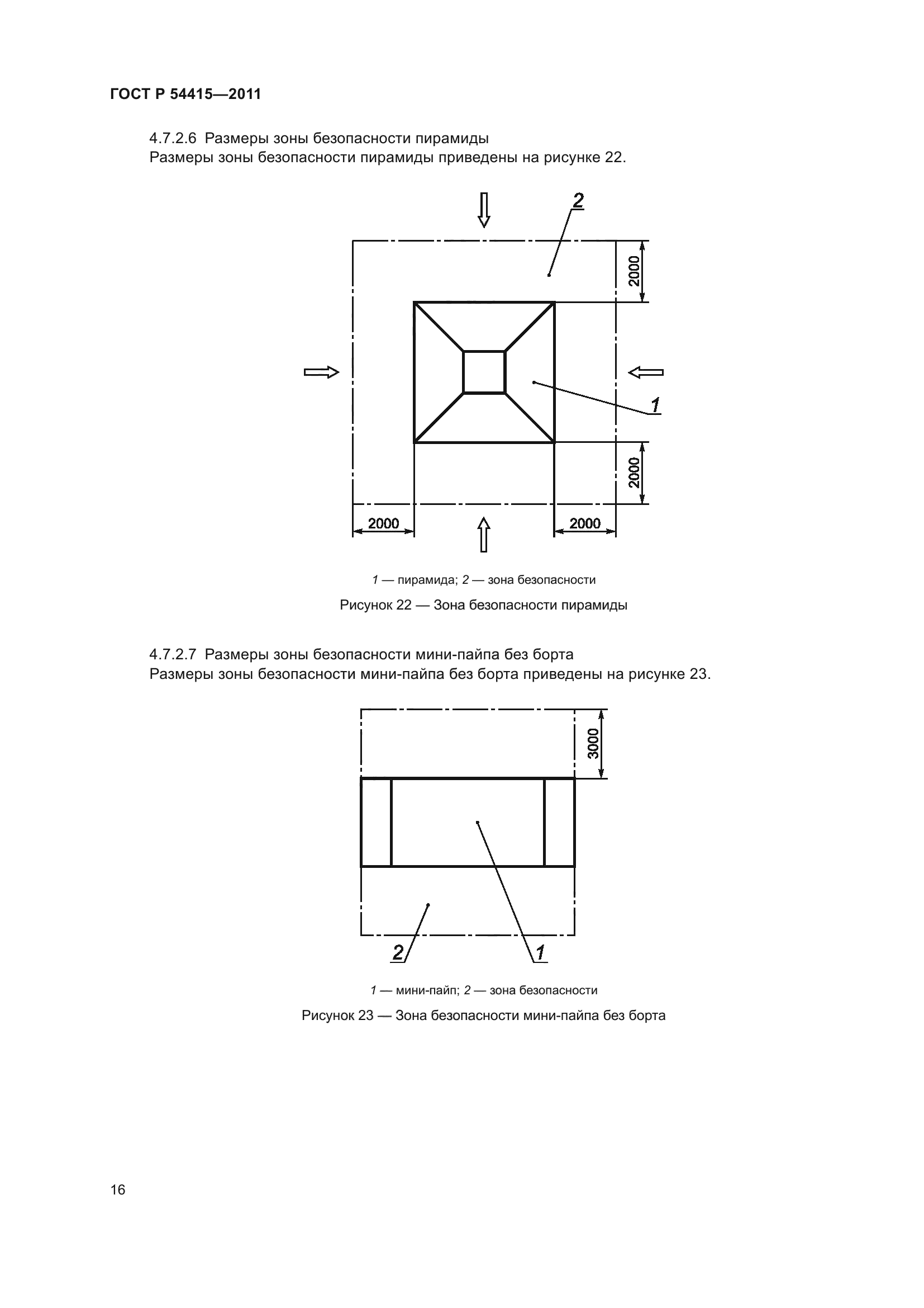
| Область применения: | Настоящий стандарт распространяется на оборудование для скейтплощадок, устанавливаемое на открытых площадках без постоянного надзора. Стандарт устанавливает требования к безопасности конструкции и методам испытаний оборудования всех типов. Настоящий стандарт не распространяется на оборудование, изготовленное до 01.01.2012 г. |
|
| Расположен в: |
|