| Обозначение: |  ГОСТ Р 54350-2011 |
| Статус: | заменён |
| Название рус.: | Приборы осветительные. Светотехнические требования и методы испытаний |
| Название англ.: | Lighting fittings. Light requirements and test methods |
| Дата актуализации текста: | 06.04.2015 |
| Дата актуализации описания: | 01.07.2023 |
| Дата издания: | 03.10.2011 |
| Дата введения: | 01.07.2012 |
| Дата окончания срока действия: | 01.01.2016 |
| Код ОКП: | 346100;346120;346130 |
| Заменяющий: | ГОСТ Р 54350-2015 |
| Нормативные ссылки: | ГОСТ Р МЭК 60598-1-2003; ГОСТ Р МЭК 60598-2-22-99; ГОСТ 2.601-2006; ГОСТ 8.023-2003; ГОСТ 8.195-89; ГОСТ 8.207-76; ГОСТ 8.332-78; ГОСТ 16703-79; ГОСТ 17616-82 |
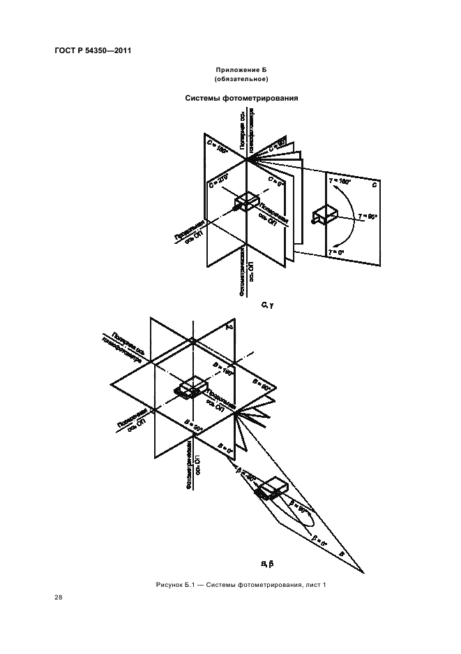
| Область применения: | Настоящий стандарт распространяется на осветительные приборы (светильники и/или прожекторы) для наружного и внутреннего освещения, предназначенные для работы в сетях переменного или постоянного тока напряжением до 1000 В включительно. Стандарт устанавливает классификацию, светотехнические требования и соответствующие методы испытаний осветительных приборов с электрическими источниками света. Стандарт не распространяется на осветительные приборы: - для транспортных средств (автомобильных, железнодорожных, авиационных, морских); - устанавливаемые на строительных и дорожных машинах; - для рудников и шахт; - с индивидуальными источниками питания; - специальные медицинские, театральные, для фото-, кино- и телесъемок. Светотехнические требования к светильникам для аварийного освещения - по ГОСТ Р МЭК 60598-2-22 |
| Список изменений: | №0 от 06.06.2012 (рег. 06.06.2012) «Дата введения перенесена» |
| Приложение №1: | Поправка к ГОСТ Р 54350-2011 |
|
| Расположен в: |
|