| Обозначение: |  ГОСТ Р 53924-2010 |
| Статус: | действующий |
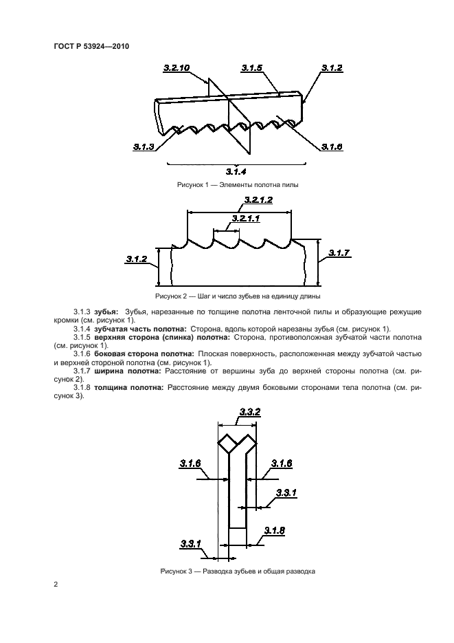
| Название рус.: | Полотна ленточных пил. Типы и основные размеры |
| Название англ.: | Metal-cutting band saw blades. Types and basic dimensions |
| Дата актуализации текста: | 01.01.2021 |
| Дата актуализации описания: | 01.07.2023 |
| Дата издания: | 10.08.2020 |
| Дата введения: | 01.01.2012 |
| Код ОКП: | 392540 |
| Содержит требования: | ISO 4875-1:2006; ISO 4875-2:2006 |
| Нормативные ссылки: | ГОСТ 3882; ГОСТ 5950; ГОСТ 19265 |
| Область применения: | Настоящий стандарт распространяется на ленточные пилы для резки сортового и фасонного проката, литья, листового материала, труб и других изделий из черных и цветных металлов, а также неметаллических материалов на ленточно-пильных станках |
|
| Расположен в: |
|