| Обозначение: |  ГОСТ Р 53530-2009 |
| Статус: | действующий |
| Название рус.: | Телевидение вещательное цифровое. Сети доступа с активными сетевыми окончаниями. Основные параметры. Технические требования |
| Название англ.: | Digital broaolcasting television. Access networks with active network terminals. Basic parameters. Technical requirements |
| Дата актуализации текста: | 01.01.2021 |
| Дата актуализации описания: | 01.07.2023 |
| Дата издания: | 21.09.2020 |
| Дата введения: | 01.12.2010 |
| Код ОКП: | 657400 |
| Нормативные ссылки: | ГОСТ 12.1.030; ГОСТ 12.2.007.0; ГОСТ 21130; ГОСТ 22670; ГОСТ 25007; ГОСТ Р 52023; ГОСТ Р 52210; ГОСТ Р 52591; ГОСТ Р 52592; ГОСТ Р 52593; ГОСТ Р 52594; ГОСТ Р МЭК 60065 |
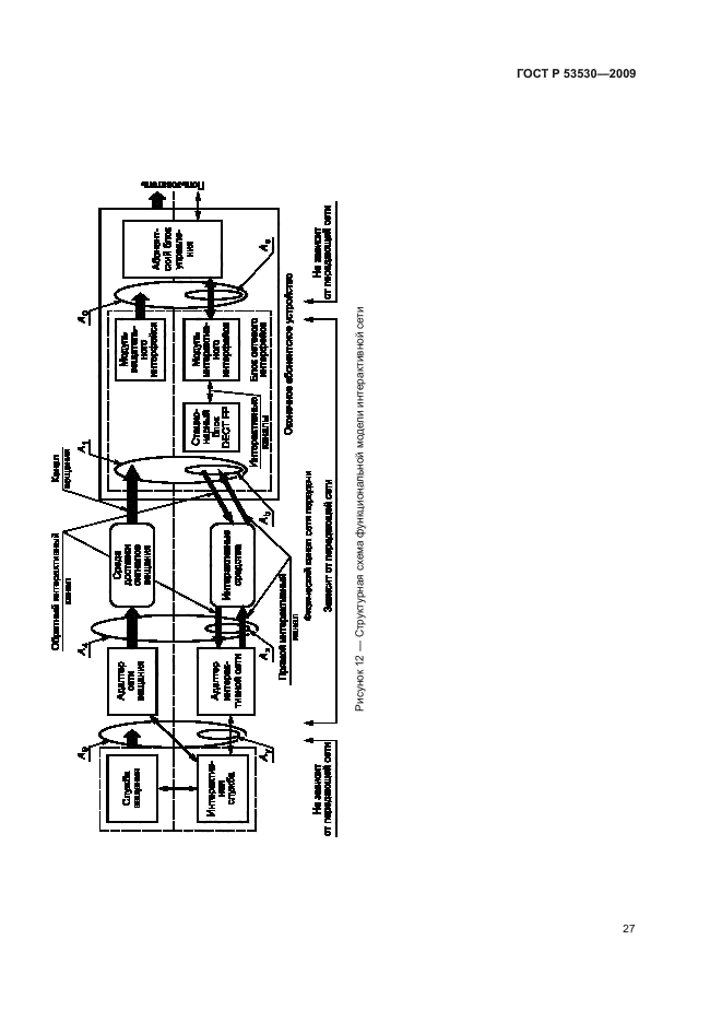
| Область применения: | Настоящий стандарт распространяется на сети доступа с активными (интерактивными) сетевыми окончаниями |
|
| Расположен в: |
|