| Обозначение: |  ГОСТ Р 53824-2010 |
| Статус: | действующий |
| Название рус.: | Автомобильные транспортные средства. Колеса неразборные. Технические требования и методы испытаний |
| Название англ.: | Vehicles. Not-folding wheels. Technical requirements and test methods |
| Дата актуализации текста: | 01.07.2023 |
| Дата актуализации описания: | 01.07.2023 |
| Дата издания: | 21.01.2011 |
| Дата введения: | 15.09.2010 |
| Код ОКП: | 450000 |
| Нормативные ссылки: | ГОСТ Р 8.568-97; ГОСТ Р 50779.30-95; ГОСТ Р 52051-2003; ГОСТ Р ИСО 2859-1-2007; ГОСТ Р ИСО/ТО 8550-1-2007 |
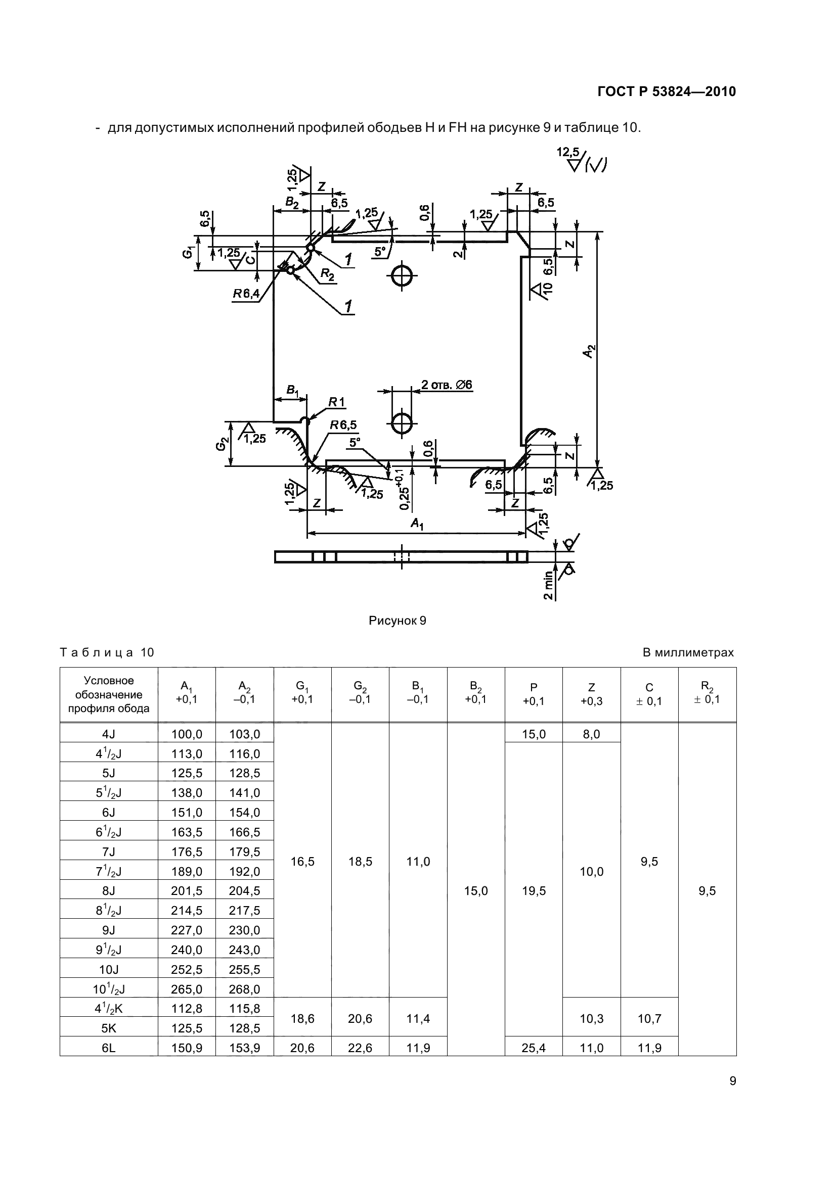
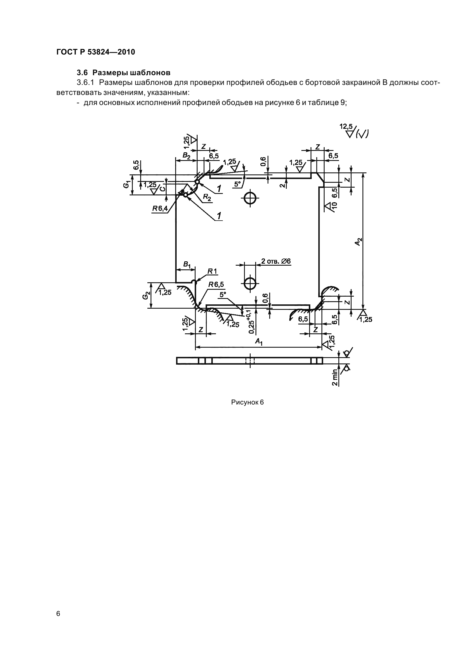
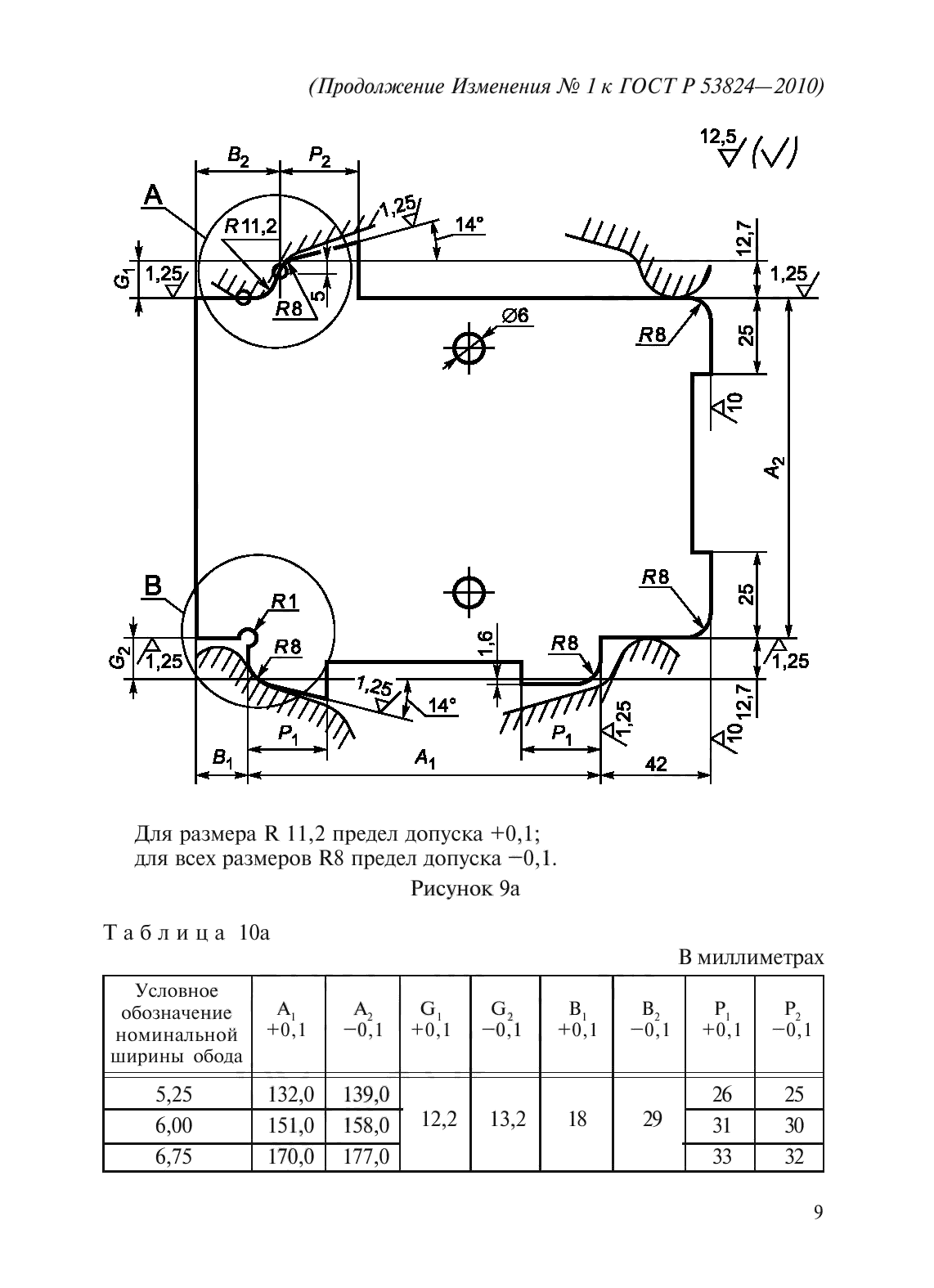
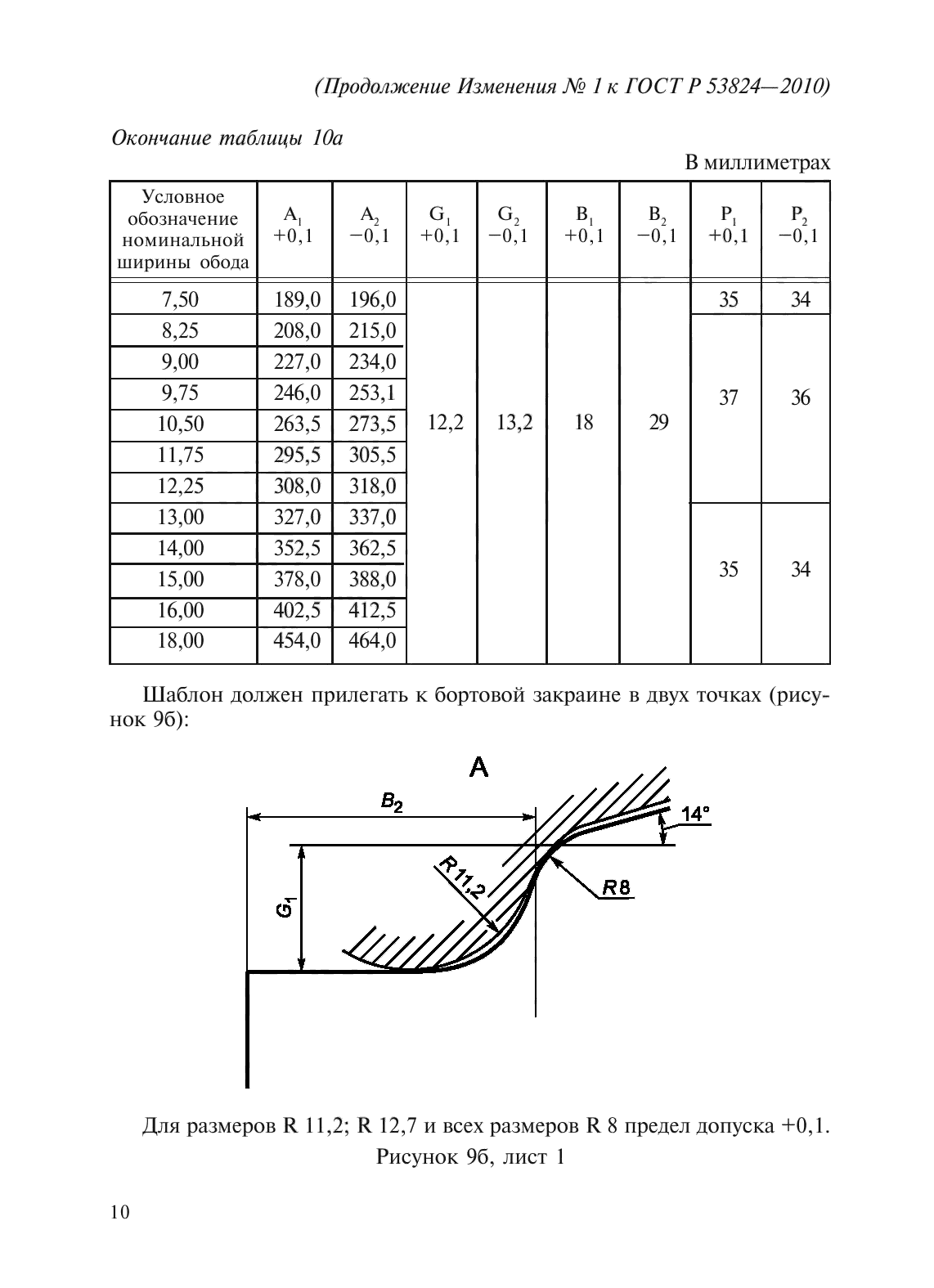
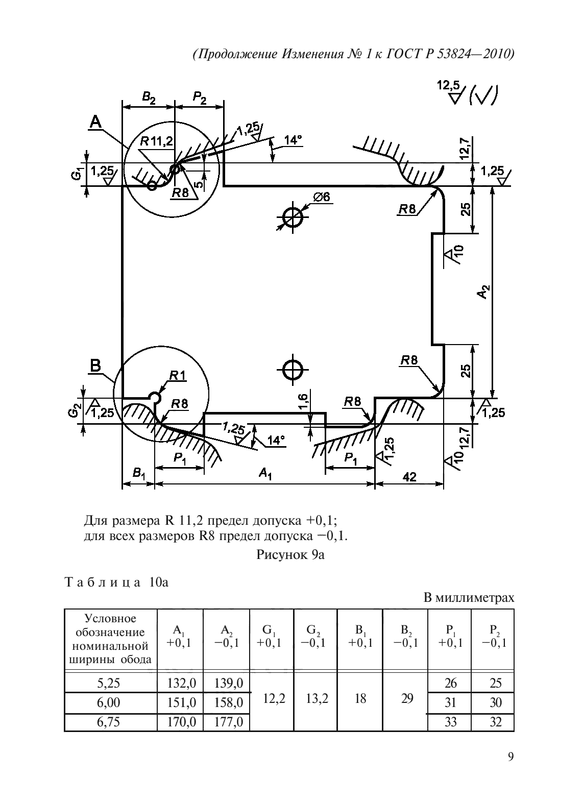
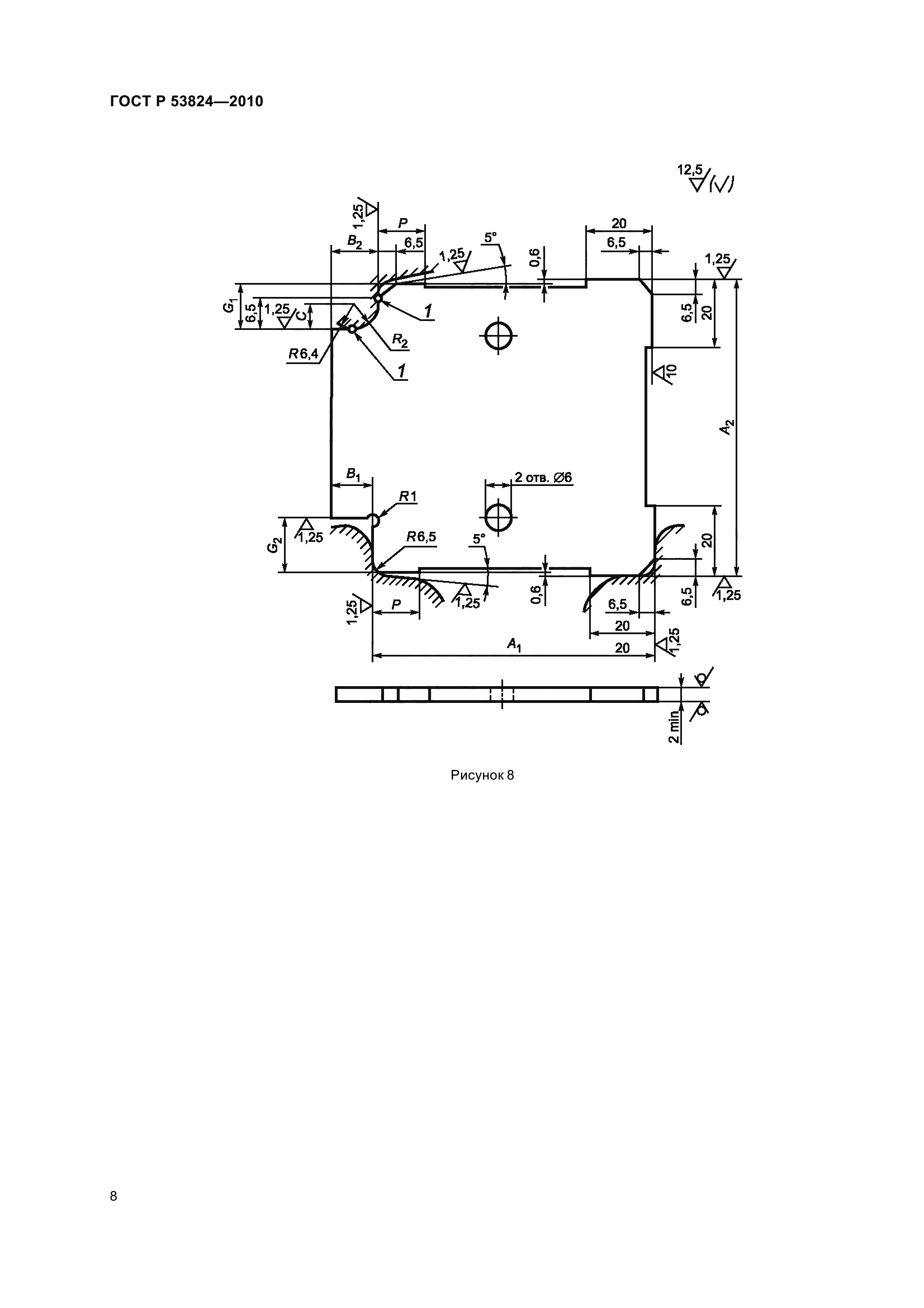
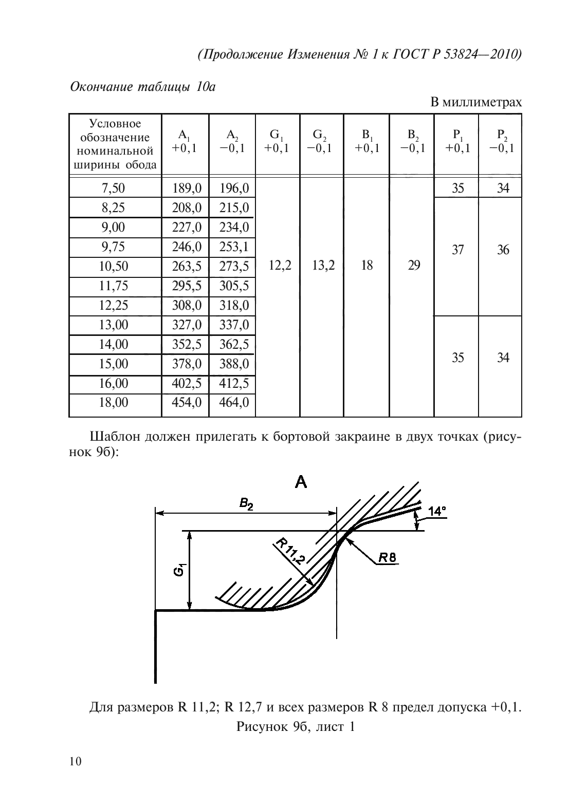
| Область применения: | Настоящий стандарт распространяется на колеса для пневматических шин с неразборными глубокими ободьями с коническими посадочными полками 5 (град.) и формой бортовых закраин B, J, K, L для автотранспортных средств категорий М(с индексом 1), М(с индексом 1) G, N(с индексом 1) и O(с индексом 1). Настоящий стандарт устанавливает основные размеры профилей ободьев, посадочных полок, контрольных колец, отверстий для вентилей, шаблонов; а также технические требования и методы испытаний |
| Список изменений: | №1 от 30.06.2013 (рег. 26.03.2013) «Срок действия продлен» |
| Приложение №1: | Изменение №1 к ГОСТ Р 53824-2010 |
| Приложение №2: | Поправка к ГОСТ Р 53824-2010 |
|
| Расположен в: |
|