| Обозначение: |  ГОСТ Р 53798-2010 |
| Статус: | действующий |
| Название рус.: | Стандартное руководство по лабораторным информационным менеджмент-системам (ЛИМС) |
| Название англ.: | Standard guide for laboratory information management systems (LIMS) |
| Дата актуализации текста: | 06.04.2015 |
| Дата актуализации описания: | 01.07.2023 |
| Дата издания: | 11.11.2010 |
| Дата введения: | 01.10.2010 |
| Содержит требования: | ASTM E 1578:2006 |
| Нормативные ссылки: | ГОСТ Р ИСО/МЭК 12207-2006; ГОСТ Р ИСО/МЭК 14764-2002; ГОСТ Р ИСО/МЭК ТО 15271-2002; ГОСТ Р ИСО/МЭК ТО 16326-2002; ГОСТ Р ИСО/МЭК 17025-2006 |
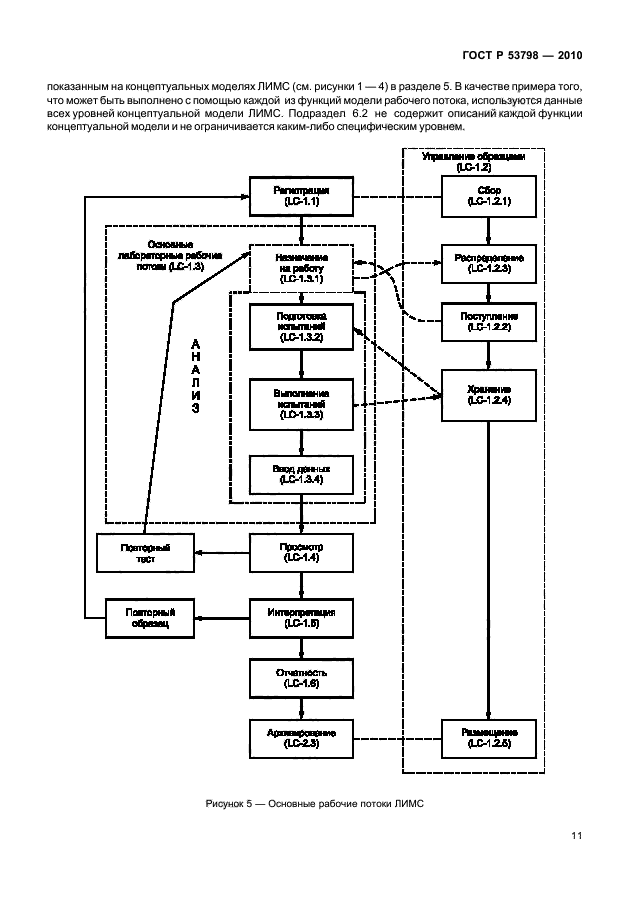
| Область применения: | В настоящем стандарте рассматриваются проблемы, возникающие, как правило, на всех стадиях жизненного цикла лабораторных информационных менеджмент-систем (ЛИМС) от начала их эксплуатации и до изъятия из эксплуатации. Подразделы настоящего стандарта также содержат детальное описание возможностей ЛИМС при применении в конкретных областях промышленности и хозяйственной деятельности |
|
| Расположен в: |
|