Информационная система
«Ёшкин Кот»

Скачать базу одним архивом
Скачать обновления
История создания базы
Карта сайта

Скачать ГОСТ Р ИСО 10303-507-2009 Системы автоматизации производства и их интеграция. Представление данных об изделии и обмен этими данными. Часть 507. Прикладные интерпретированные конструкции. Геометрически ограниченная поверхность

Дата актуализации: 01.06.2025

ГОСТ Р ИСО 10303-507-2009

Системы автоматизации производства и их интеграция. Представление данных об изделии и обмен этими данными. Часть 507. Прикладные интерпретированные конструкции. Геометрически ограниченная поверхность

Обозначение: ГОСТ Р ИСО 10303-507-2009
Статус:действующий
Название рус.:Системы автоматизации производства и их интеграция. Представление данных об изделии и обмен этими данными. Часть 507. Прикладные интерпретированные конструкции. Геометрически ограниченная поверхность
Название англ.:Industrial automation systems and integration. Product data representation and exchange. Part 507. Application interpreted construct. Geometrically bounded surface
Дата актуализации текста:06.04.2015
Дата актуализации описания:01.07.2023
Дата издания:06.04.2020
Дата введения:01.07.2010
Аутентичен стандартам:ISO 10303-507:2001
Нормативные ссылки:ISO/IEC 8824-1:1998;ISO 10303-1:1994;ISO 10303-11:1994;ISO 10303-41:1994;ISO 10303-42:1994;ISO 10303-43:1994;ISO 10303-202:1996
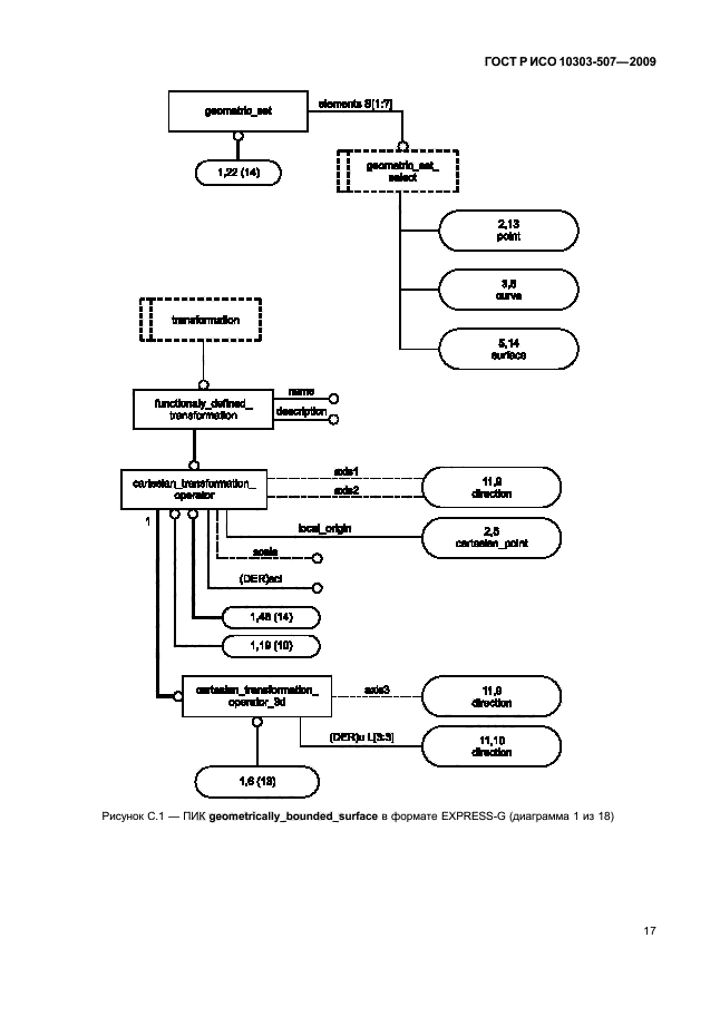
Область применения:Настоящий стандарт определяет интерпретацию интегрированных ресурсов, обеспечивающую соответствие требованиям к представлению геометрических форм посредством моделей геометрически ограниченных поверхностей. Требования настоящего стандарта распространяются на: - трехмерные точки; - точки, определенные в параметрическом пространстве кривых или поверхностей; - трехмерные кривые; - кривые, определенные в параметрическом пространстве поверхностей; - элементарные кривые: линию, окружность, эллипс, параболу, гиперболу; - кривые пересечений; - полилинии, состоящие, по крайней мере, из трех точек; - поверхности; - элементарные поверхности: плоскость, цилиндр, конус, тор, сферу; - криволинейные поверхности, созданные путем вращения или линейной экструзии кривой; - рельефные кривые и поверхности; - обрезание кривых и поверхностей; - композицию кривых и поверхностей; - копирование кривых, поверхностей и моделей поверхностей; - трехмерные смещения кривых и поверхностей
Расположен в:Государственные стандарты Общероссийский классификатор стандартов Машиностроение Промышленные автоматизированные системы Измерение и контроль производственного процесса Классификатор государственных стандартов Измерительные приборы. Средства автоматизации и вычислительной техники Средства вычислительной техники и автоматизированные системы управления Автоматизированные системы управления
ГОСТ Р ИСО 10303-507-2009ГОСТ Р ИСО 10303-507-2009ГОСТ Р ИСО 10303-507-2009ГОСТ Р ИСО 10303-507-2009ГОСТ Р ИСО 10303-507-2009ГОСТ Р ИСО 10303-507-2009ГОСТ Р ИСО 10303-507-2009ГОСТ Р ИСО 10303-507-2009ГОСТ Р ИСО 10303-507-2009ГОСТ Р ИСО 10303-507-2009ГОСТ Р ИСО 10303-507-2009ГОСТ Р ИСО 10303-507-2009ГОСТ Р ИСО 10303-507-2009ГОСТ Р ИСО 10303-507-2009ГОСТ Р ИСО 10303-507-2009ГОСТ Р ИСО 10303-507-2009ГОСТ Р ИСО 10303-507-2009ГОСТ Р ИСО 10303-507-2009ГОСТ Р ИСО 10303-507-2009ГОСТ Р ИСО 10303-507-2009ГОСТ Р ИСО 10303-507-2009ГОСТ Р ИСО 10303-507-2009ГОСТ Р ИСО 10303-507-2009ГОСТ Р ИСО 10303-507-2009ГОСТ Р ИСО 10303-507-2009ГОСТ Р ИСО 10303-507-2009ГОСТ Р ИСО 10303-507-2009ГОСТ Р ИСО 10303-507-2009ГОСТ Р ИСО 10303-507-2009ГОСТ Р ИСО 10303-507-2009ГОСТ Р ИСО 10303-507-2009ГОСТ Р ИСО 10303-507-2009ГОСТ Р ИСО 10303-507-2009ГОСТ Р ИСО 10303-507-2009ГОСТ Р ИСО 10303-507-2009ГОСТ Р ИСО 10303-507-2009ГОСТ Р ИСО 10303-507-2009ГОСТ Р ИСО 10303-507-2009ГОСТ Р ИСО 10303-507-2009ГОСТ Р ИСО 10303-507-2009ГОСТ Р ИСО 10303-507-2009ГОСТ Р ИСО 10303-507-2009

© 2013 Ёшкин Кот :-) Карта сайта