| Обозначение: |  ГОСТ Р 52459.25-2009 |
| Статус: | действующий |
| Название рус.: | Совместимость технических средств электромагнитная. Технические средства радиосвязи. Часть 25. Частные требования к подвижным станциям CDMA 1х с расширенным спектром и вспомогательному оборудованию |
| Название англ.: | Electromagnetic compatibility of technical equipment. Radio communication equipment. Part 25. Specific requirements for CDMA 1x spread spectrum mobile stations and ancillary equipment |
| Дата актуализации текста: | 01.01.2021 |
| Дата актуализации описания: | 01.07.2023 |
| Дата издания: | 29.06.2020 |
| Дата введения: | 01.01.2010 |
| Содержит требования: | EN 301 489-25-2005 |
| Нормативные ссылки: | ГОСТ 32134.1-2013; ГОСТ 24375; ГОСТ 30372 |
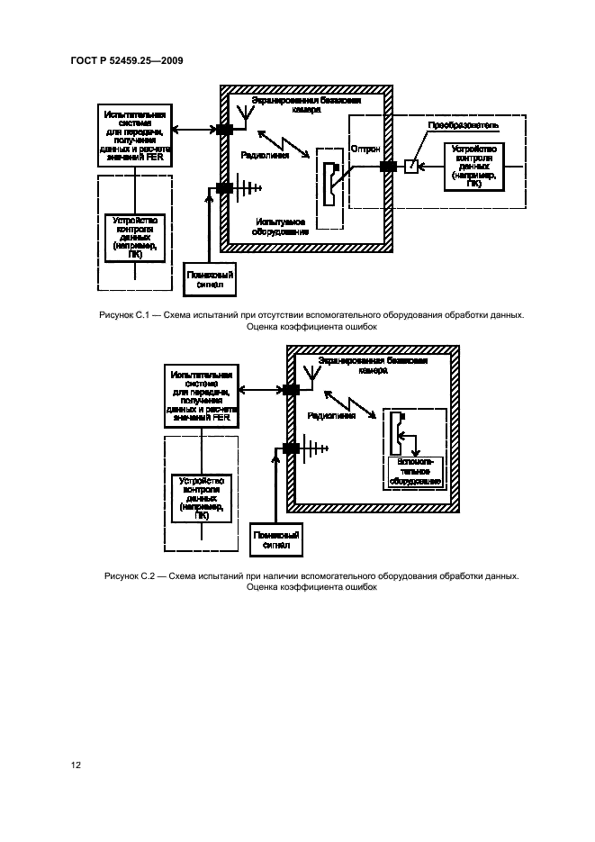
| Область применения: | Настоящий стандарт, совместно с ГОСТ Р 52459.1, устанавливает требования электромагнитной совместимости к подвижному и портативному оконечному радиооборудованию CDMA 1х с расширенным спектром и связанному с ним вспомогательному оборудованию, а также соответствующие методы испытаний. Настоящий стандарт не устанавливает требований, относящихся к антенному порту радиооборудования CDMA 1х с расширенным спектром и электромагнитной эмиссии от порта корпуса этого радиооборудования. Настоящий стандарт устанавливает условия испытаний, оценку качества функционирования и критерии качества функционирования для подвижного и портативного оконечного радиооборудования CDMA 1х с расширенным спектром и связанного с ним вспомогательного оборудования. Требования настоящего стандарта не распространяются на базовые станции CDMA 1х с расширенным спектром, работающие в инфраструктуре сети. Однако к области применения настоящего стандарта относят подвижное и портативное оборудование, предназначенное для работы в определенных пунктах при подключении к сети переменного тока |
|
| Расположен в: |
|