| Обозначение: |  ГОСТ Р 53365-2009 |
| Статус: | отменён |
| Название рус.: | Трубы обсадные и насосно-компрессорные и муфты к ним. Основные параметры и контроль резьбовых соединений. Общие технические требования |
| Название англ.: | Pipes for use as casing or tubing and couplings for them. Basic parameters and inspection of thread connections. General technical requirements |
| Дата актуализации текста: | 01.01.2021 |
| Дата актуализации описания: | 01.07.2023 |
| Дата издания: | 22.12.2009 |
| Дата введения: | 01.03.2010 |
| Дата окончания срока действия: | 01.09.2017 |
| Код ОКП: | 132100;132700 |
| На территории РФ пользоваться: | ГОСТ 33758-2016 |
| Нормативные ссылки: | ГОСТ Р 51906-2002; ГОСТ Р 53366-2009; ГОСТ 9378-93; ГОСТ 10654-81; ГОСТ 11708-82; ГОСТ 25575-83; ГОСТ 25576-83 |
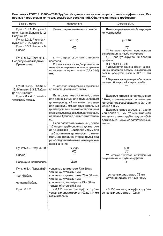
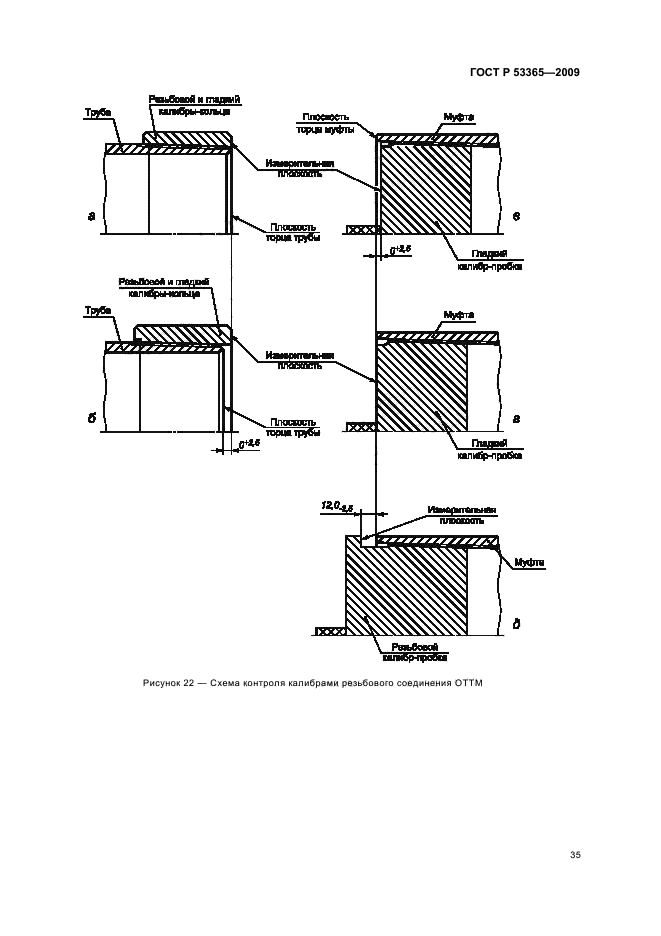
| Область применения: | Настоящий стандарт распространяется на резьбовые соединения обсадных и насосно-компрессорных труб и муфт к ним, применяемых в нефтяной и газовой промышленности и устанавливает требования к основным параметрам и контролю резьбы и резьбовых соединений |
| Список изменений: | №0 от 17.11.2015 (рег. 17.11.2015) «Дата введения перенесена» №0 от 31.08.2017 (рег. 05.12.2016) «Текстовое изменение; Изменено заглавие» №1 от 01.01.2014 (рег. 04.07.2013) «Срок действия продлен» |
| Приложение №1: | Изменение №1 к ГОСТ Р 53365-2009 |
| Приложение №2: | Поправка к ГОСТ Р 53365-2009 |
|
| Расположен в: |
|