| Обозначение: |  ГОСТ Р 53292-2009 |
| Статус: | действующий |
| Название рус.: | Огнезащитные составы и вещества для древесины и материалов на ее основе. Общие требования. Методы испытаний |
| Название англ.: | Fire retardant compositions and substances for wood. General requirements. Test methods |
| Дата актуализации текста: | 01.01.2021 |
| Дата актуализации описания: | 01.07.2023 |
| Дата издания: | 29.11.2019 |
| Дата введения: | 01.05.2009 |
| Код ОКП: | 214800;214900;231600;238900;249400;249900;571700;576700;576900 |
| Нормативные ссылки: | ГОСТ 2.114; ГОСТ 2140 |
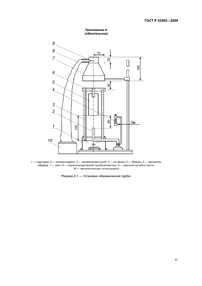
| Область применения: | Настоящий стандарт устанавливает общие требования к огнезащитным составам и веществам для древесины и материалов на ее основе, а также методы их испытаний. Требованиями стандарта следует руководствоваться при определении огнезащитных свойств огнезащитных составов, разработке технической документации, сертификации, осуществлении контроля качества огнезащитных составов и выполненной огнезащиты |
|
| Расположен в: |
|