Информационная система
«Ёшкин Кот»

Скачать базу одним архивом
Скачать обновления
История создания базы
Карта сайта

Скачать ГОСТ Р 53254-2009 Техника пожарная. Лестницы пожарные наружные стационарные. Ограждения кровли. Общие технические требования. Методы испытаний

Дата актуализации: 01.06.2025

ГОСТ Р 53254-2009

Техника пожарная. Лестницы пожарные наружные стационарные. Ограждения кровли. Общие технические требования. Методы испытаний

Обозначение: ГОСТ Р 53254-2009
Статус:действующий
Название рус.:Техника пожарная. Лестницы пожарные наружные стационарные. Ограждения кровли. Общие технические требования. Методы испытаний
Название англ.:Fire equipment. Ed fire ladders to be installed outside buildings. Buildings roof railings. General technical requirements. Test methods
Дата актуализации текста:01.01.2021
Дата актуализации описания:01.07.2023
Дата издания:25.11.2019
Дата введения:01.05.2009
Код ОКП:485485
Нормативные ссылки:ГОСТ 9.032;ГОСТ 9.302;ГОСТ 166;ГОСТ 427;ГОСТ 5264;ГОСТ 7502;ГОСТ 23118;ГОСТ 25772
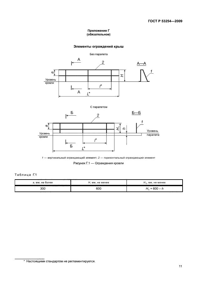
Область применения:Настоящий стандарт распространяется на металлические пожарные маршевые и вертикальные лестницы (в том числе - эвакуационные и на аварийных выходах), площадки и ограждения к ним, устанавливаемые стационарно снаружи жилых, промышленных, общественных зданий и сооружений, которые используются пожарными подразделениями для эвакуации людей, подъема на кровли и чердаки личного состава и пожарно-технического вооружения, а также на ограждения кровли зданий для обеспечения безопасности проводимых работ. Настоящий стандарт устанавливает типы, основные параметры и размеры, общие технические требования, методы испытаний, правила и порядок оценки качества лестниц и ограждений кровли. Требования настоящего стандарта применяются на стадии проектирования, приемки объекта в эксплуатацию и при проведении периодических испытаний наружных пожарных лестниц и ограждений кровли
Расположен в:Государственные стандарты Общероссийский классификатор стандартов Охрана окружающей среды, защита человека от воздействия окружающей среды. Безопасность Защита от пожаров Классификатор государственных стандартов Машины, оборудование и инструмент Машины и оборудование универсального применения Противопожарные машины, оборудование и инвентарь Окп Продукция строительного, дорожного и коммунального машиностроения Оборудование технологическое для лесозаготовительной и торфяной промышленности; машиностроение коммунальное Техника пожарная Оборудование пожарное прочее Инвентарь пожарный Технические регламенты РФ Технический регламент о требованиях пожарной безопасности Пожарное оборудование
ГОСТ Р 53254-2009ГОСТ Р 53254-2009ГОСТ Р 53254-2009ГОСТ Р 53254-2009ГОСТ Р 53254-2009ГОСТ Р 53254-2009ГОСТ Р 53254-2009ГОСТ Р 53254-2009ГОСТ Р 53254-2009ГОСТ Р 53254-2009ГОСТ Р 53254-2009ГОСТ Р 53254-2009ГОСТ Р 53254-2009ГОСТ Р 53254-2009ГОСТ Р 53254-2009ГОСТ Р 53254-2009ГОСТ Р 53254-2009ГОСТ Р 53254-2009ГОСТ Р 53254-2009

© 2013 Ёшкин Кот :-) Карта сайта