| Обозначение: |  ГОСТ Р 53090-2008 |
| Статус: | действующий |
| Название рус.: | Основные нормы взаимозаменяемости. Характеристики изделий геометрические. Требования максимума материала, минимума материала и взаимодействия |
| Название англ.: | Basic norms of interchangeability. Geometrical product specifications. Maximum material requirement, least material requirement and reciprocity requirement |
| Дата актуализации текста: | 06.04.2015 |
| Дата актуализации описания: | 01.07.2023 |
| Дата издания: | 23.03.2009 |
| Дата введения: | 01.01.2011 |
| Содержит требования: | ISO 2692:2006 |
| Нормативные ссылки: | ГОСТ 25346-89; ГОСТ 31254-2004 |
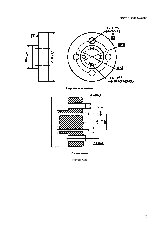
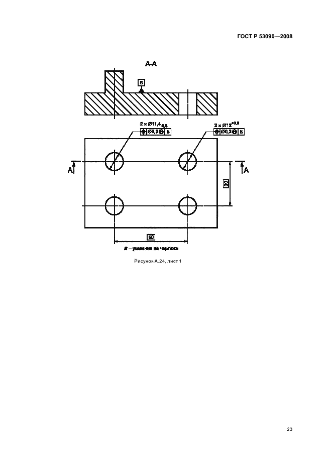
| Область применения: | Настоящий стандарт распространяется на нормирование точности деталей и устанавливает содержание и правила указания на чертежах требований максимума материала и взаимодействия при назначении геометрических допусков по ИСО 1101. Настоящий стандарт предназначен для применения при установлении геометрических допусков к таким размерным элементам деталей, как цилиндр или две параллельные друг другу плоскости, когда размерная и геометрическая точность элемента взаимозависимы |
|
| Расположен в: |
|