| Обозначение: |  ГОСТ Р 51318.16.1.1-2007 |
| Статус: | отменён |
| Название рус.: | Совместимость технических средств электромагнитная. Требования к аппаратуре для измерения параметров индустриальных радиопомех и помехоустойчивости и методы измерений. Часть 1-1. Аппаратура для измерения параметров индустриальных радиопомех и помехоустойчивости. Приборы для измерения индустриальных радиопомех |
| Название англ.: | Electromagnetic compatibility of technical equipment. Specification for radio disturbance and immunity measuring apparatus and methods. Part 1-1. Radio disturbance and immunity measuring apparatus. Measuring apparatus |
| Дата актуализации текста: | 06.04.2015 |
| Дата актуализации описания: | 01.07.2023 |
| Дата издания: | 03.10.2008 |
| Дата введения: | 01.07.2008 |
| Дата окончания срока действия: | 01.01.2014 |
| Содержит требования: | CISPR 16-1-1:2006 |
| На территории РФ пользоваться: | ГОСТ 30805.16.1.1-2013 |
| Нормативные ссылки: | ГОСТ Р 51318.11-2006; ГОСТ Р 51318.14.1-2006; ГОСТ Р 51318.16.4.2-2006; ГОСТ Р 51320-99; ГОСТ 14777-76; ГОСТ 30372-95; ГОСТ Р 50397-92 |
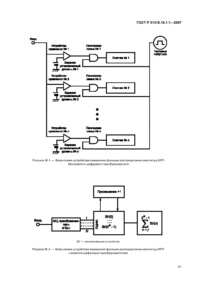
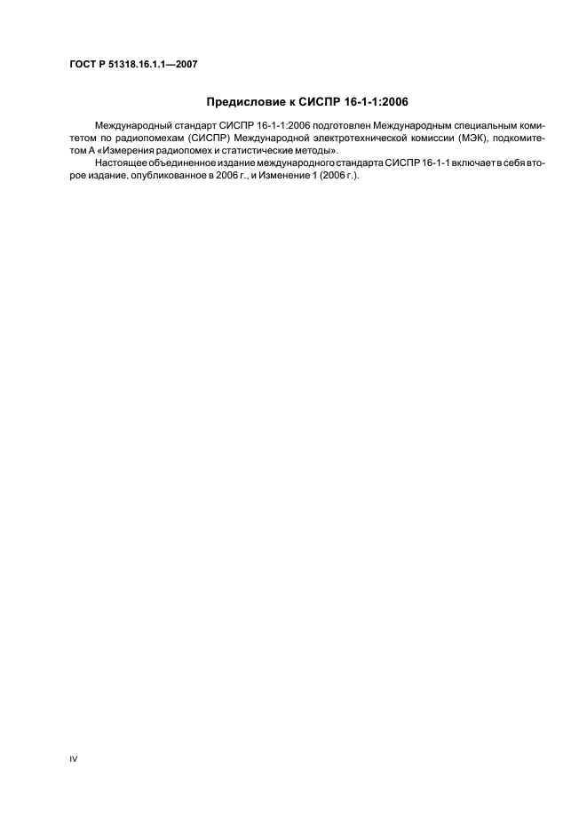
| Область применения: | Настоящий стандарт является основополагающим стандартом, устанавливающим характеристики и качество функционирования аппаратуры для измерения напряжения, тока и напряженности поля индустриальных радиопомех (ИРП) в полосе частот от 9 кГц до 18 ГГц. В настоящем стандарте установлены также требования к специализированным приборам для измерений прерывистых ИРП. Настоящий стандарт распространяется на следующие виды измерителей ИРП: а) измерительный приемник с квазипиковым детектором; б) измерительный приемник с детектором пиковых значений; в) измерительный приемник с детектором средних значений; г) измерительный приемник с детектором среднеквадратических значений |
| Список изменений: | №0 от 01.01.2014 (рег. 21.07.2013) «Текстовое изменение; Изменено заглавие» |
|
| Расположен в: |
|