| Обозначение: |  ГОСТ Р 41.55-99 |
| Статус: | заменён |
| Название рус.: | Единообразные предписания, касающиеся официального утверждения механических деталей сцепных устройств составов транспортных средств |
| Название англ.: | Uniform provisions concerning the approval of mechanical coupling components of combinations of vehicles |
| Дата актуализации текста: | 06.04.2015 |
| Дата актуализации описания: | 01.07.2023 |
| Дата издания: | 25.12.2000 |
| Дата введения: | 01.07.2000 |
| Дата окончания срока действия: | 01.07.2006 |
| Код ОКП: | 453000 |
| Заменяющий: | ГОСТ Р 41.55-2005 |
| Содержит требования: | Правила EEC UN № 55 |
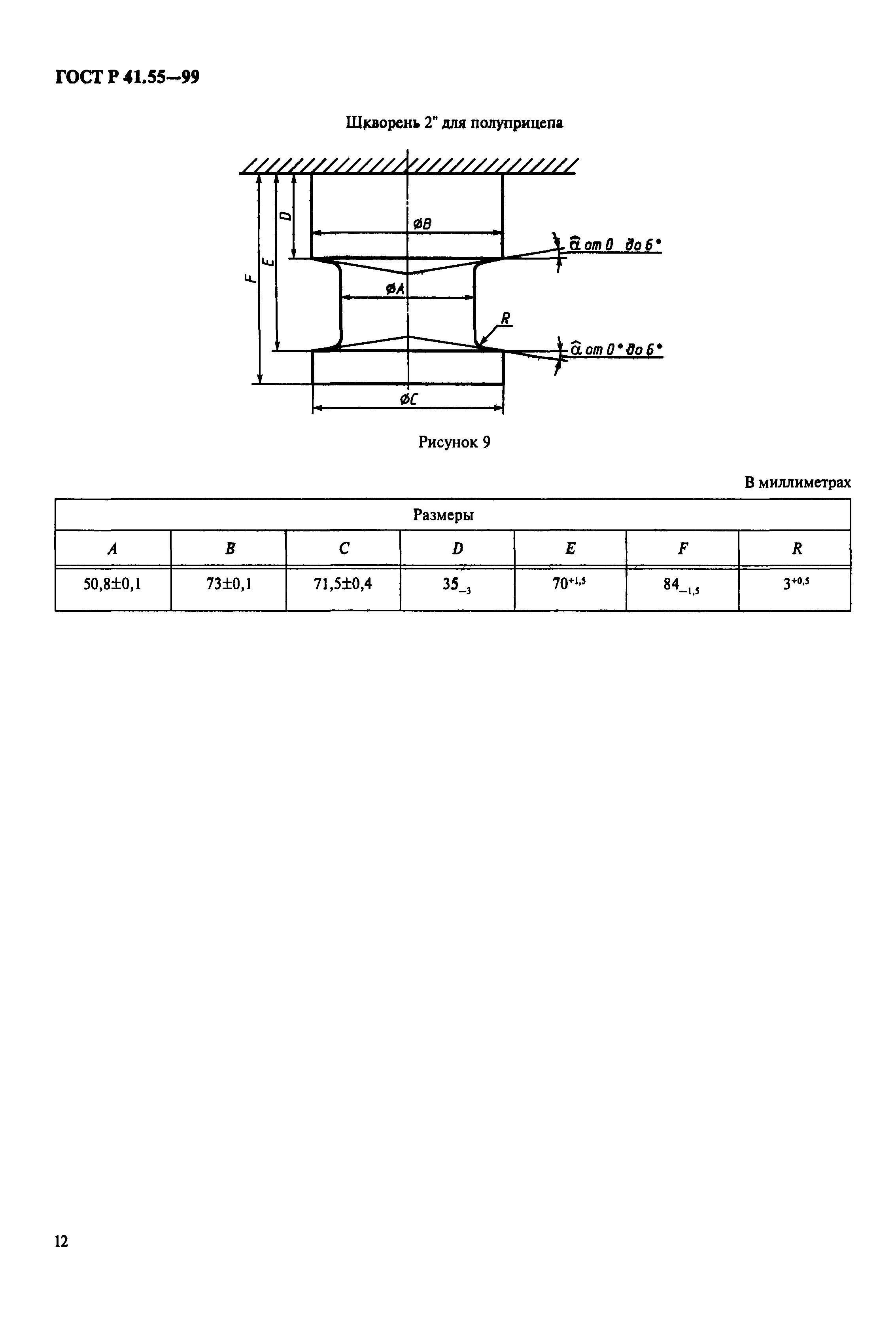
| Область применения: | Настоящий стандарт устанавливает единообразные предписания, касающиеся официального утверждения механических деталей сцепных устройств составов транспортных средств |
|
| Расположен в: |
|