| Обозначение: |    ГОСТ Р 40.005-96 | 
| Статус: | заменён | 
| Название рус.: | Система сертификации ГОСТ Р. Регистр систем качества. Инспекционный контроль за сертифицированными системами качества и производствами | 
| Название англ.: | Gost R. Certification system. Quality system register. Certified quality systems and productions surveillance | 
| Дата актуализации текста: | 06.04.2015 | 
| Дата актуализации описания: | 01.07.2023 | 
| Дата издания: | 16.09.1996 | 
| Дата введения: | 01.07.1996 | 
| Дата окончания срока действия: | 01.12.2000 | 
| Заменяющий: |  ГОСТ Р 40.005-2000 | 
| Нормативные ссылки: |  ГОСТ Р 40.001-95; ГОСТ Р 40.002-96; ГОСТ Р 40.003-96; ГОСТ Р 40.004-96; ГОСТ Р ИСО 9001-96; ГОСТ Р ИСО 9002-96; ГОСТ Р ИСО 9003-96; ГОСТ Р ИСО 10011-1-93; ГОСТ Р ИСО 10011-2-93; ГОСТ Р ИСО 10011-3-93 | 
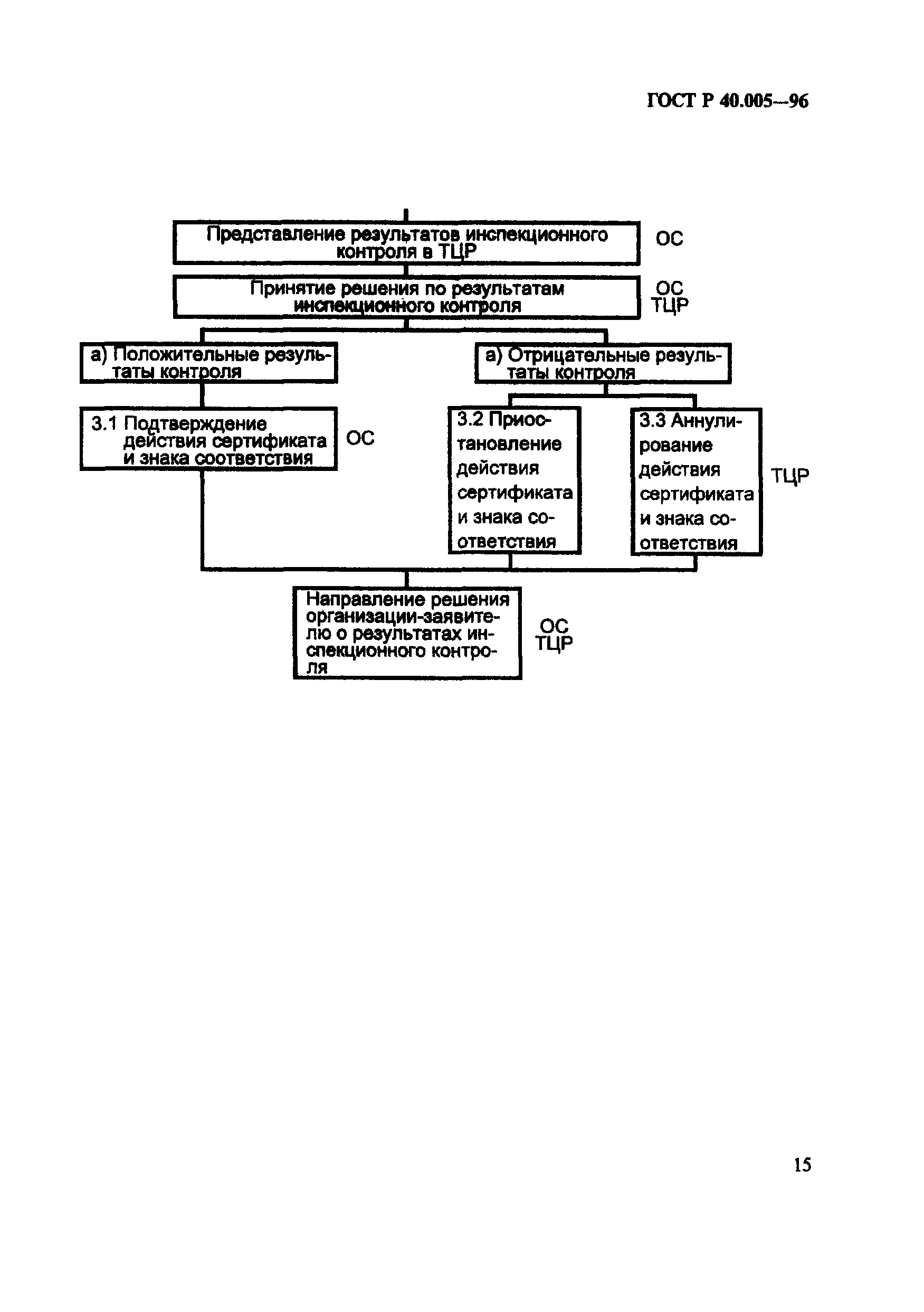
| Область применения: | Настоящий стандарт устанавливает основные правила и порядок проведения инспекционного контроля, а также правила передачи работ по инспекционному контролю другим органам по сертификации. Настоящий стандарт применяется при проведении работ по добровольной и обязательной сертификации в Системе сертификации ГОСТ Р. Требования настоящего стандарта являются обязательными для участников Регистра систем качества Госстандарта России (далее - Регистра) при проведении инспекционного контроля сертифицированных систем качества и производств организаций различных отраслей промышленности/секторов экономики с целью подтверждения соответствия сертифицированных систем качества (производств) требованиям ГОСТ Р ИСО 9001 - ГОСТ Р ИСО 9003, а также требованиям договора (контракта) | 
 | 
| Расположен в: | 
  |