| Обозначение: |  ГОСТ 9853.1-79 |
| Статус: | заменён |
| Название рус.: | Титан губчатый. Метод определения азота |
| Название англ.: | Sponge titanium. Method for the determination of nitrogen |
| Дата актуализации текста: | 06.04.2015 |
| Дата актуализации описания: | 01.07.2023 |
| Дата издания: | 05.11.1979 |
| Дата введения: | 01.01.1981 |
| Дата окончания срока действия: | 01.07.2000 |
| Код ОКП: | 171522 |
| Взамен: | ГОСТ 9853.1-72 |
| Заменяющий: | ГОСТ 9853.1-96 |
| Нормативные ссылки: | ГОСТ 25086-81; ГОСТ 23780-79; ГОСТ 4204-77; ГОСТ 10484-78; ГОСТ 4165-78; ГОСТ 4328-77; ГОСТ 18300-87; ГОСТ 8.315-78;ГСО 1496-86П |
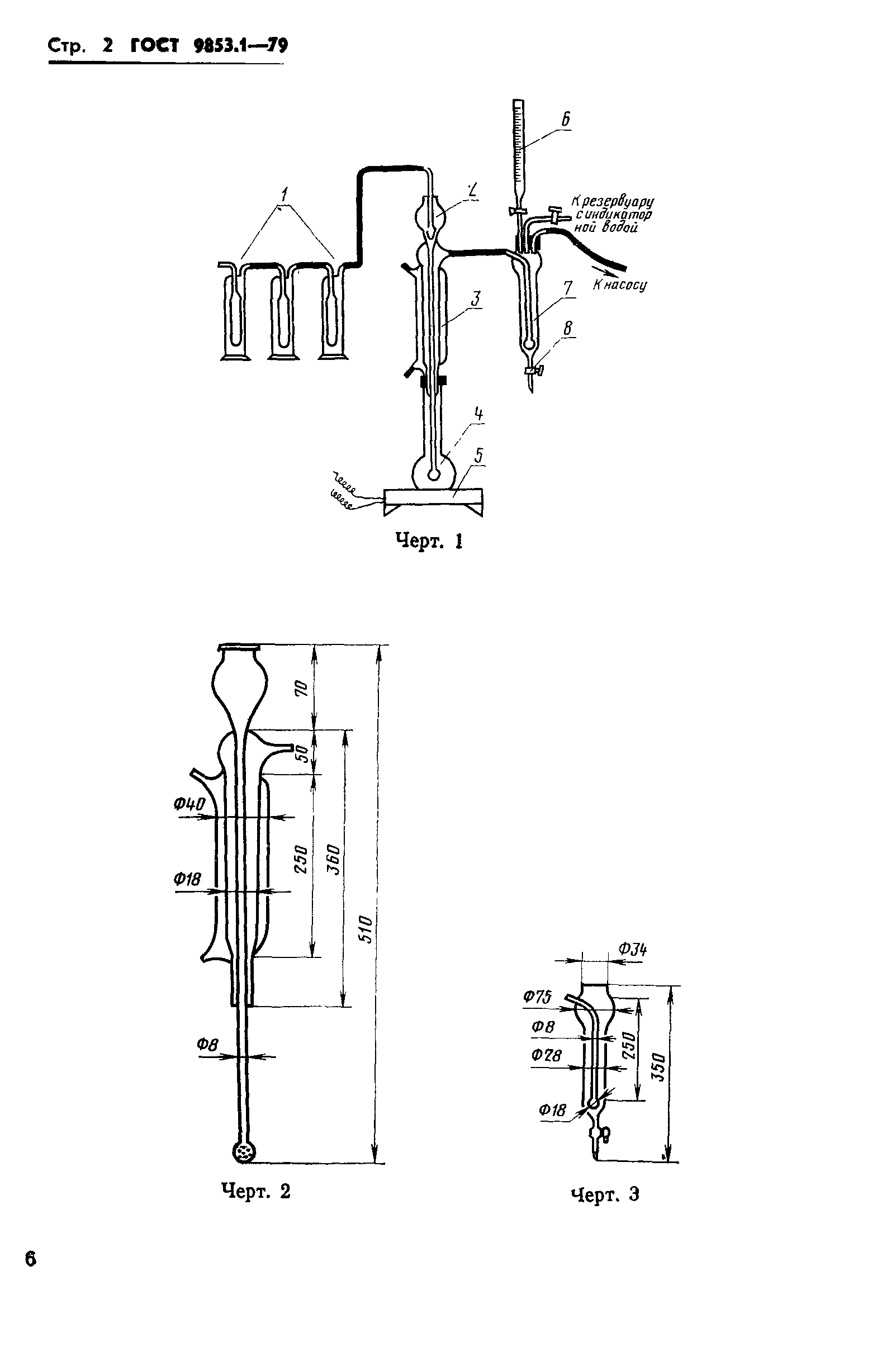
| Область применения: | Настоящий стандарт устанавливает объемный метод определения азота в губчатом титане (при массовой доле азота от 0,005 до 0,4%). Метод основан на растворении титана в серной и фтористоводородной кислотах в результате чего в растворе образуются аммонийные соли. Последние разлагаются гидроокисью натрия с выделением аммиака, который поглощается слабокислым раствором индикатора Таширо и титруется раствором серной кислоты |
| Список изменений: | №1 от 01.01.1986 (рег. 16.06.1985) «Срок действия продлен» №2 от 01.03.1988 (рег. 23.10.1987) «Срок действия продлен» №3 от 01.03.1991 (рег. 14.08.1990) «Срок действия продлен» |
|
| Расположен в: |
|