| Обозначение: |  ГОСТ 9422-83 |
| Статус: | не действует в РФ |
| Название рус.: | Карточки почтовые. Технические условия |
| Название англ.: | Post cards |
| Дата актуализации текста: | 06.04.2015 |
| Дата актуализации описания: | 01.07.2023 |
| Дата издания: | 12.03.1984 |
| Дата введения: | 01.07.1984 |
| Дата окончания срока действия: | 01.07.2000 |
| Код ОКП: | 957550 |
| Взамен: | ГОСТ 9422-73 |
| Содержит требования: | СТ СЭВ 4795-84;СТ СЭВ 4795-84 |
| На территории РФ пользоваться: | ГОСТ Р 51507-99 |
| Нормативные ссылки: | ISO 328:1974 |
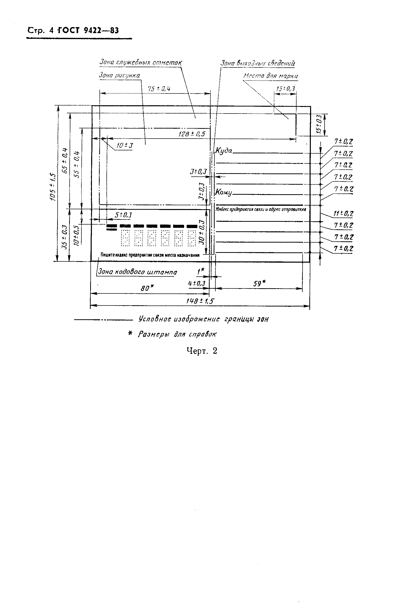
| Область применения: | Настоящий стандарт распространяется на почтовые карточки, повестки и извещения, предназначенные для пересылки письменных сообщений. Стандарт не распространяется на карточки изобразительные, предназначенные для пересылки в конверте |
| Список изменений: | №0 от 01.07.2000 (рег. 23.12.2000) «Поправка к изменению» №1 от 01.07.1986 (рег. 12.09.1985) «Срок действия продлен» №2 от 01.09.1987 (рег. 02.03.1987) «Срок действия продлен» №3 от 01.05.1989 (рег. 07.12.1988) «Срок действия продлен» |
|
| Расположен в: |
|