| ||||||||||||||||||||||||||||||||||||||
Скачать ГОСТ 8161-75 Рельсы железнодорожные типа Р65. Конструкция и размерыДата актуализации: 01.06.2025
| ||||||||||||||||||||||||||||||||||||||
| Обозначение: | ![]() ГОСТ 8161-75 |
| Статус: | не действует в РФ |
| Название рус.: | Рельсы железнодорожные типа Р65. Конструкция и размеры |
| Название англ.: | Railway rails type Р65. Construction and dimensions |
| Дата актуализации текста: | 06.04.2015 |
| Дата актуализации описания: | 01.07.2023 |
| Дата издания: | 01.08.1985 |
| Дата введения: | 01.01.1977 |
| Дата окончания срока действия: | 01.07.2001 |
| Код ОКП: | 092110 |
| Взамен: | ГОСТ 8161-63 |
| На территории РФ пользоваться: | ГОСТ Р 51685-2013 |
| Нормативные ссылки: | ГОСТ 18267-82; ГОСТ 24182-80 |
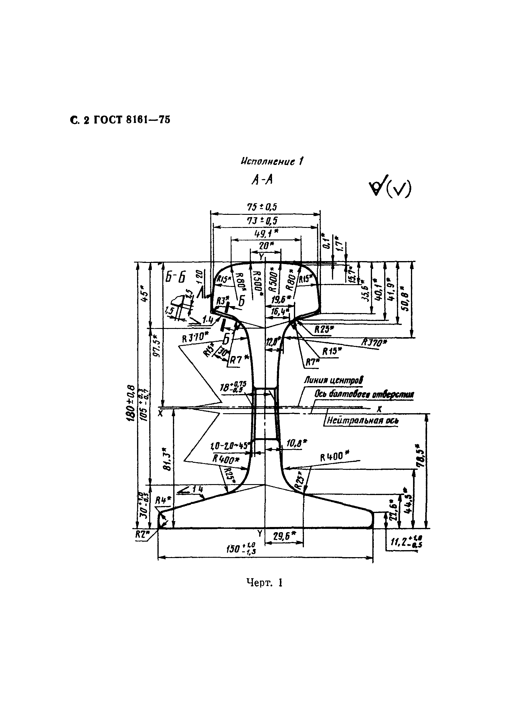
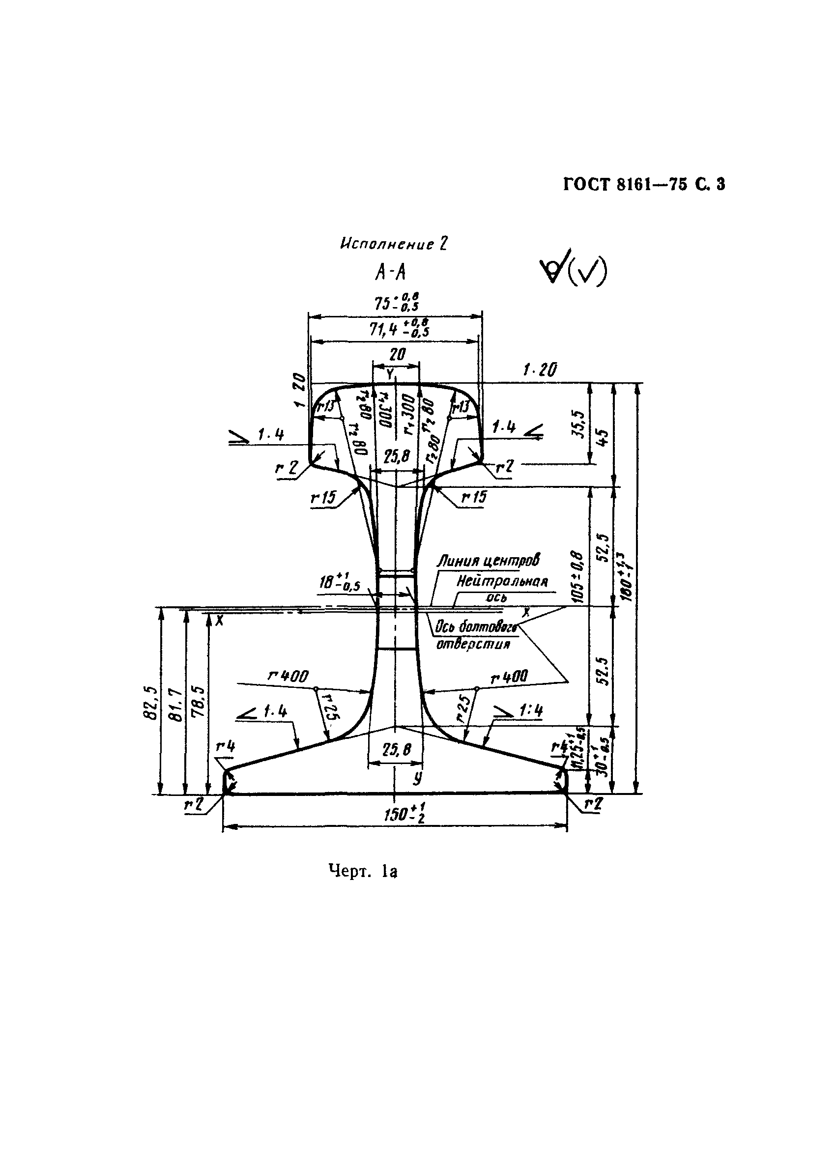
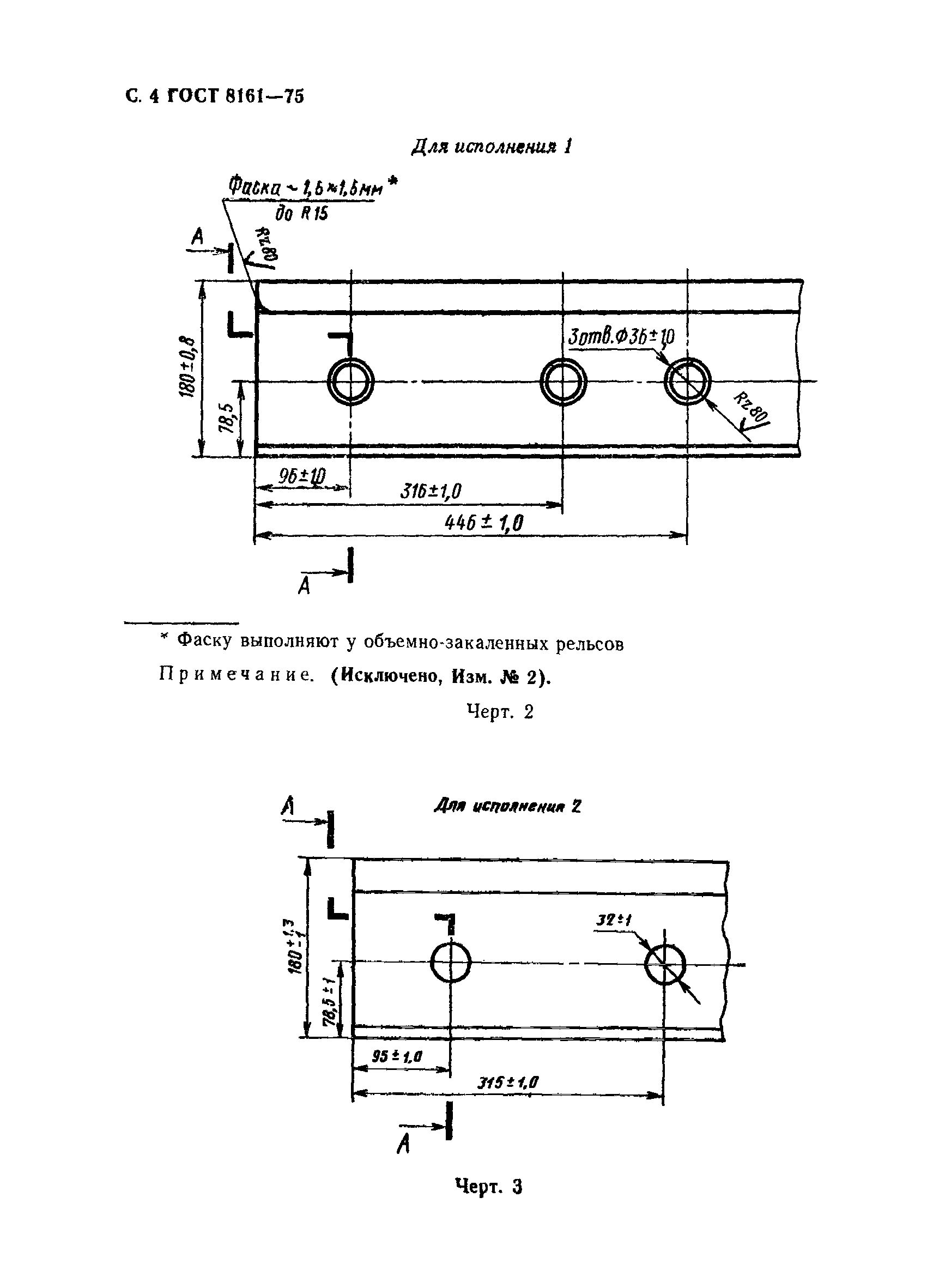
| Область применения: | Настоящий стандарт распространяется на закаленные и незакаленные железнодорожные рельсы типа Р65 и устанавливает их конструкцию и размеры |
| Список изменений: | №0 от 01.07.2001 (рег. 18.12.2000) «Поправка к изменению» №1 от 01.09.1979 (рег. 25.05.1979) «Срок действия продлен» №2 от 01.01.1981 (рег. 20.01.1981) «Срок действия продлен» №3 от 01.09.1985 (рег. 09.04.1985) «Срок действия продлен» №4 от 01.09.1998 (рег. 13.04.1998) «Срок действия продлен» |
| Расположен в: | |








