| Обозначение: |  ГОСТ 7397.0-89 |
| Статус: | не действует в РФ |
| Название рус.: | Выключатели для бытовых и аналогичных стационарных электрических установок. Общие технические условия |
| Название англ.: | Switches for household and similar fixed-electrical installations. General specifications |
| Дата актуализации текста: | 06.04.2015 |
| Дата актуализации описания: | 01.07.2023 |
| Дата издания: | 24.07.1990 |
| Дата введения: | 01.01.1991 |
| Дата окончания срока действия: | 01.07.2002 |
| Код ОКП: | 346420 |
| Взамен: | ГОСТ 7397-88 |
| Содержит требования: | IEC 60669-1(1981) |
| На территории РФ пользоваться: | ГОСТ Р 51324.1-2012 |
| Нормативные ссылки: | IEC 60669-1(1981); ГОСТ 9.005-72; ГОСТ 9.302-79; ГОСТ 20.57.406-81; ГОСТ 1761-79; ГОСТ 5689-79; ГОСТ 7399-80; ГОСТ 8594-80; ГОСТ 9389-75; ГОСТ 14192-77; ГОСТ 14254-80; ГОСТ 15150-69; ГОСТ 15963-79; ГОСТ 17412-72; ГОСТ 17516-72 |
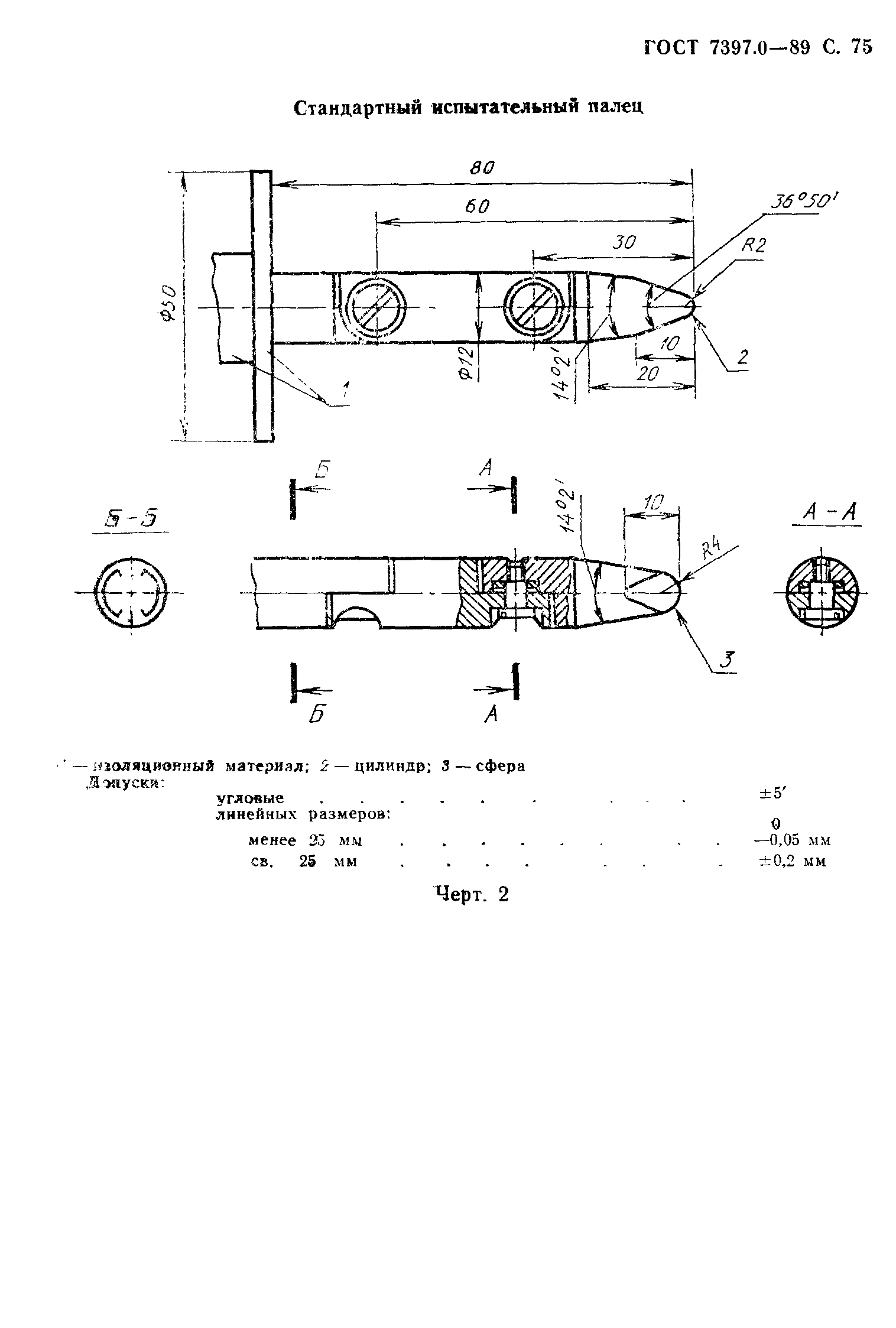
| Область применения: | Настоящий стандарт распространяется на установочные выключатели общего назначения, приводимые в действие вручную, предназначенные для бытовых и аналогичных стационарных электрических установок переменного и постоянного тока на номинальное напряжение не выше 440 В и номинальную силу тока не более 63 А при внутренней и наружной установках в помещениях |
| Список изменений: | №0 от 01.01.2001 (рег. 29.12.1999) «Поправка к изменению» №0 от 13.06.2001 (рег. 13.06.2001) «Восстановлен на территории РФ» №0 от 01.07.2002 (рег. 14.06.2001) «Поправка к изменению» |
|
| Расположен в: |
|