| Обозначение: |  ГОСТ 6570-75 |
| Статус: | заменён |
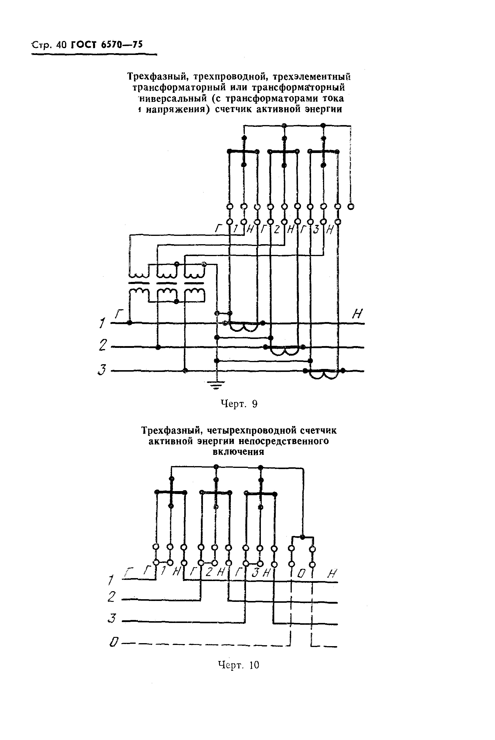
| Название рус.: | Счетчики электрические активной и реактивной энергии индукционные. Общие технические условия |
| Название англ.: | Electrical induction active and reactive energy meters. General technical specifications |
| Дата актуализации текста: | 06.04.2015 |
| Дата актуализации описания: | 01.07.2023 |
| Дата издания: | 01.08.1991 |
| Дата введения: | 01.01.1976 |
| Дата окончания срока действия: | 01.07.1997 |
| Код ОКП: | 422800 |
| Взамен: | ГОСТ 6570-60 |
| Заменяющий: | ГОСТ 6570-96 |
| Содержит требования: | СТ СЭВ 1108-79;СТ СЭВ 1108-87 |
| Нормативные ссылки: | IEC 60145;IEC 60521; ГОСТ 15150-69; ГОСТ 15151-69; ГОСТ 2.601-68; ГОСТ 8.001-71; ГОСТ 1845-59; ГОСТ 8.055-73; ГОСТ 13600-68; ГОСТ 2930-62;РС 2776-70;РС 1798-70;РС 1529-68 |
| Список изменений: | №2 от 01.07.1986 (рег. 20.12.1985) «Срок действия продлен» №3 от 01.11.1987 (рег. 23.06.1987) «Срок действия продлен» №4 от 01.01.1989 (рег. 31.10.1988) «Срок действия продлен» №5 от 01.07.1990 (рег. 26.12.1989) «Срок действия продлен» |
|
| Расположен в: |
|