| ||||||||||||||||||||||||||||||||||
Скачать ГОСТ 6133-84 Камни бетонные стеновые. Технические условияДата актуализации: 01.06.2025
| ||||||||||||||||||||||||||||||||||
| Обозначение: | ![]() ГОСТ 6133-84 |
| Статус: | заменён |
| Название рус.: | Камни бетонные стеновые. Технические условия |
| Название англ.: | Concrete wall stone. Specifications |
| Дата актуализации текста: | 06.04.2015 |
| Дата актуализации описания: | 01.07.2023 |
| Дата издания: | 20.07.1984 |
| Дата введения: | 01.07.1985 |
| Дата окончания срока действия: | 01.01.2002 |
| Код ОКП: | 574100 |
| Взамен: | ГОСТ 6133-75 |
| Заменяющий: | ГОСТ 6133-99 |
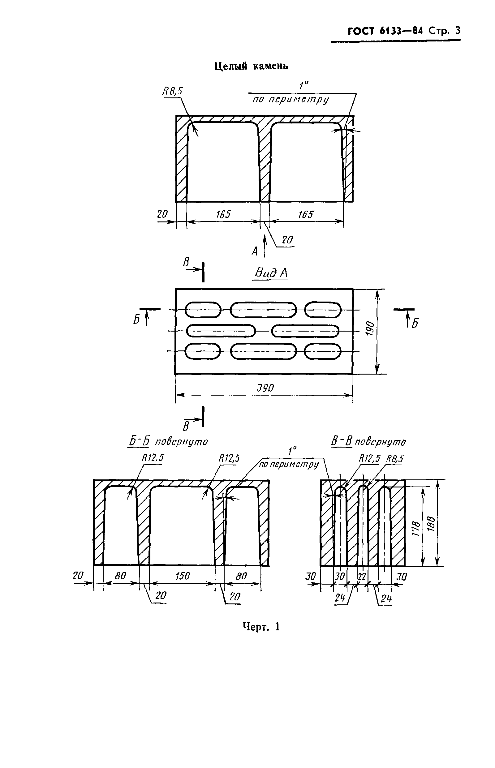
| Область применения: | Настоящий стандарт распространяется на полнотелые и пустотелые, рядовые и лицевые стеновые камни, изготовленные вибропрессованием, литьем или другими способами из легких и тяжелых бетонов на цементном, известковом, шлаковом и гипсовом вяжущих, твердеющих в естественных условиях, при пропаривании или автоклавной обработке |
| Расположен в: | |


















