| ||||||||||||||||||||||||||||||||||||||
Скачать ГОСТ 5717-91 Банки стеклянные для консервов. Технические условияДата актуализации: 01.06.2025
| ||||||||||||||||||||||||||||||||||||||
| Обозначение: | ![]() ГОСТ 5717-91 |
| Статус: | заменён |
| Название рус.: | Банки стеклянные для консервов. Технические условия |
| Название англ.: | Jars for canned food. Specifications |
| Дата актуализации текста: | 06.04.2015 |
| Дата актуализации описания: | 01.12.2024 |
| Дата издания: | 01.05.1997 |
| Дата введения: | 01.01.1993 |
| Дата окончания срока действия: | 01.07.2004 |
| Код ОКП: | 598610 |
| Взамен: | ГОСТ 5717-81; ГОСТ 24639-81 |
| Заменяющий в части: | ГОСТ 5717.1-2003 в части разд. 2 - 6; ГОСТ 5717.2-2003 в части разд. 1 |
| Нормативные ссылки: | ГОСТ 164-90; ГОСТ 577-68; ГОСТ 2603-79; ГОСТ 3118-77; ГОСТ 6968-76; ГОСТ 12601-76; ГОСТ 13516-86; ГОСТ 13903-93; ГОСТ 13904-93; ГОСТ 14192-96; ГОСТ 15102-75; ГОСТ 15150-69; ГОСТ 20435-75; ГОСТ 22225-76; ГОСТ 22852-77; ГОСТ 24980-92; ГОСТ 25706-83;ОСТ 21-51-82 |
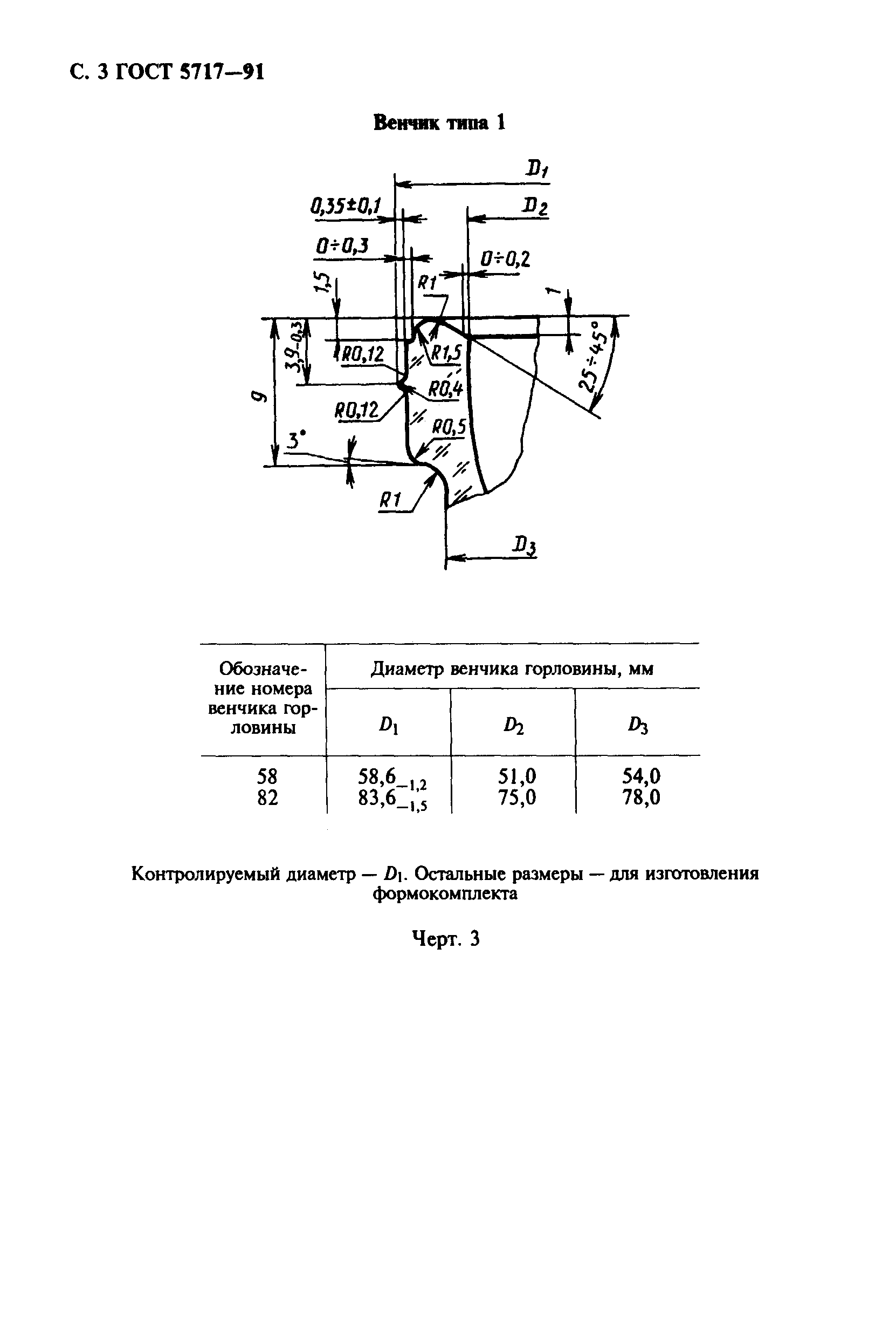
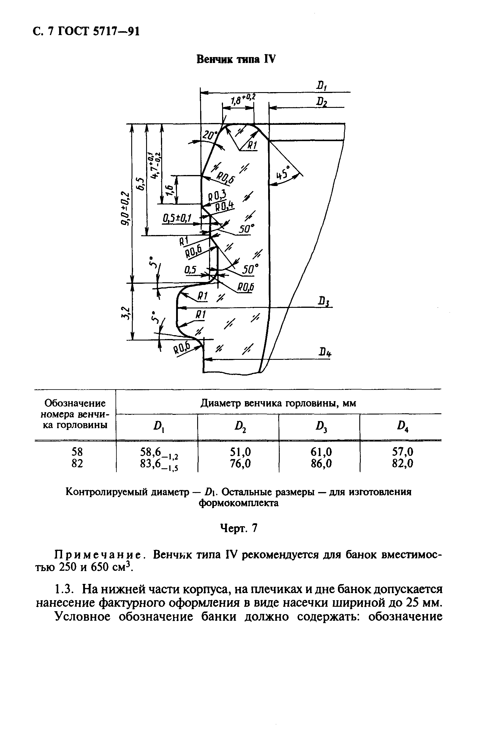
| Область применения: | Настоящий стандарт распространяется на стеклянные банки, предназначенные для фасования консервируемых продуктов |
| Список изменений: | №1 от 01.01.1998 (рег. 28.10.1997) «Срок действия продлен» |
| Расположен в: | |























