| ||||||||||||||||||||||||||||||||||||||
 Скачать ГОСТ 5500-75 Изделия огнеупорные стопорные для разливки стали из ковша. Технические условияДата актуализации: 01.06.2025
 | ||||||||||||||||||||||||||||||||||||||
| Обозначение: | ![]()   ГОСТ 5500-75 | 
| Статус: | заменён | 
| Название рус.: | Изделия огнеупорные стопорные для разливки стали из ковша. Технические условия | 
| Название англ.: | High-duty and refractories for steel pouring. Specifications | 
| Дата актуализации текста: | 06.04.2015 | 
| Дата актуализации описания: | 01.07.2023 | 
| Дата издания: | 01.06.1982 | 
| Дата введения: | 01.01.1977 | 
| Дата окончания срока действия: | 01.03.2002 | 
| Код ОКП: | 155000 | 
| Взамен: |  ГОСТ 5500-64 | 
| Заменяющий: |  ГОСТ 5500-2001 | 
| Нормативные ссылки: |  ГОСТ 8179-69; ГОСТ 5402-62; ГОСТ 2642.0-71; ГОСТ 427-75; ГОСТ 2642.1-71; ГОСТ 1502-72; ГОСТ 2642.2-71; ГОСТ 15467-79; ГОСТ 2642.3-71; ГОСТ 2991-76; ГОСТ 2409-80; ГОСТ 10198-78; ГОСТ 15136-78; ГОСТ 5224-79; ГОСТ 8309-75; ГОСТ 1.9-67; ГОСТ 4071-80; ГОСТ 4070-48;РС 1675-69 | 
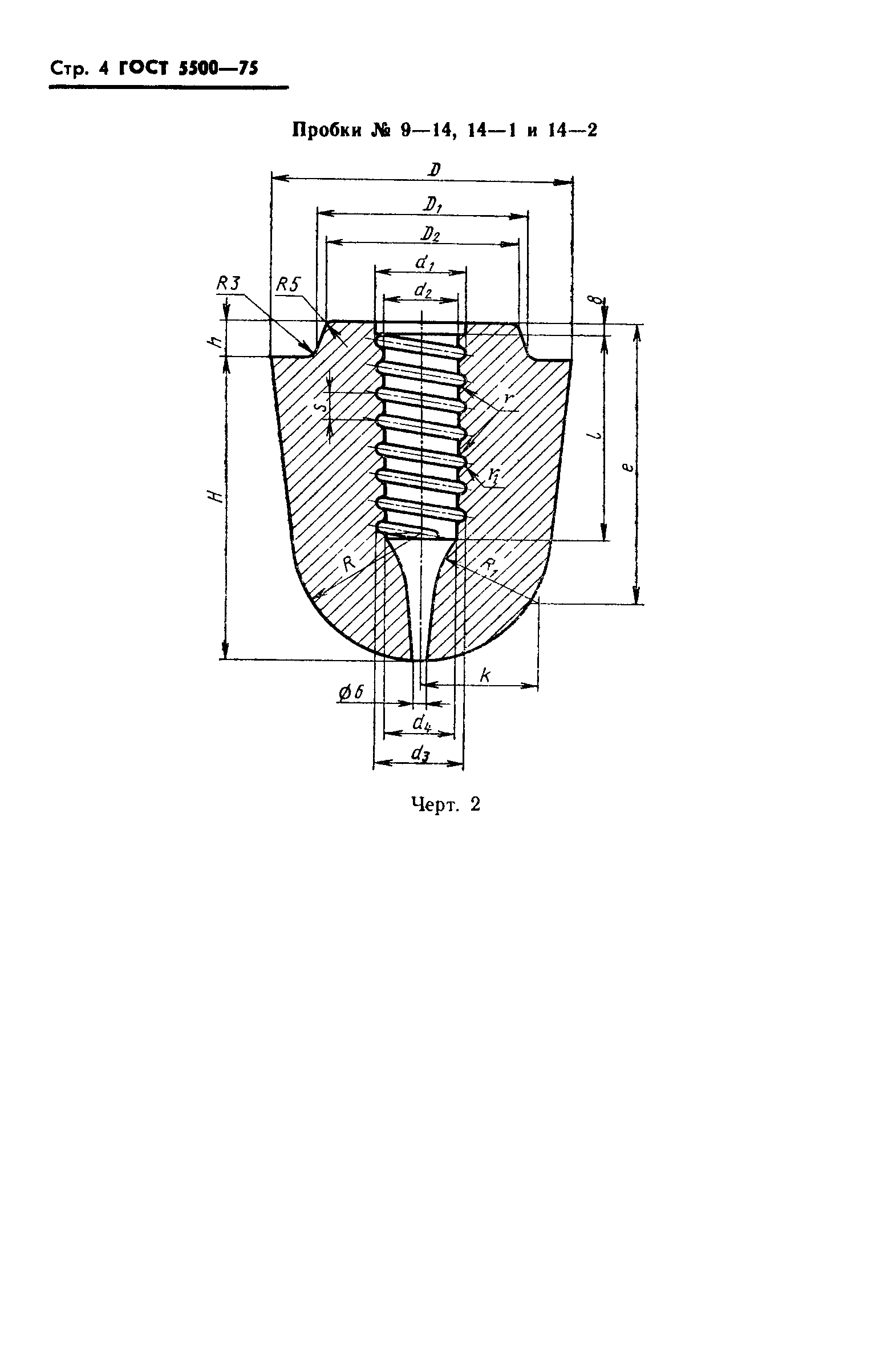
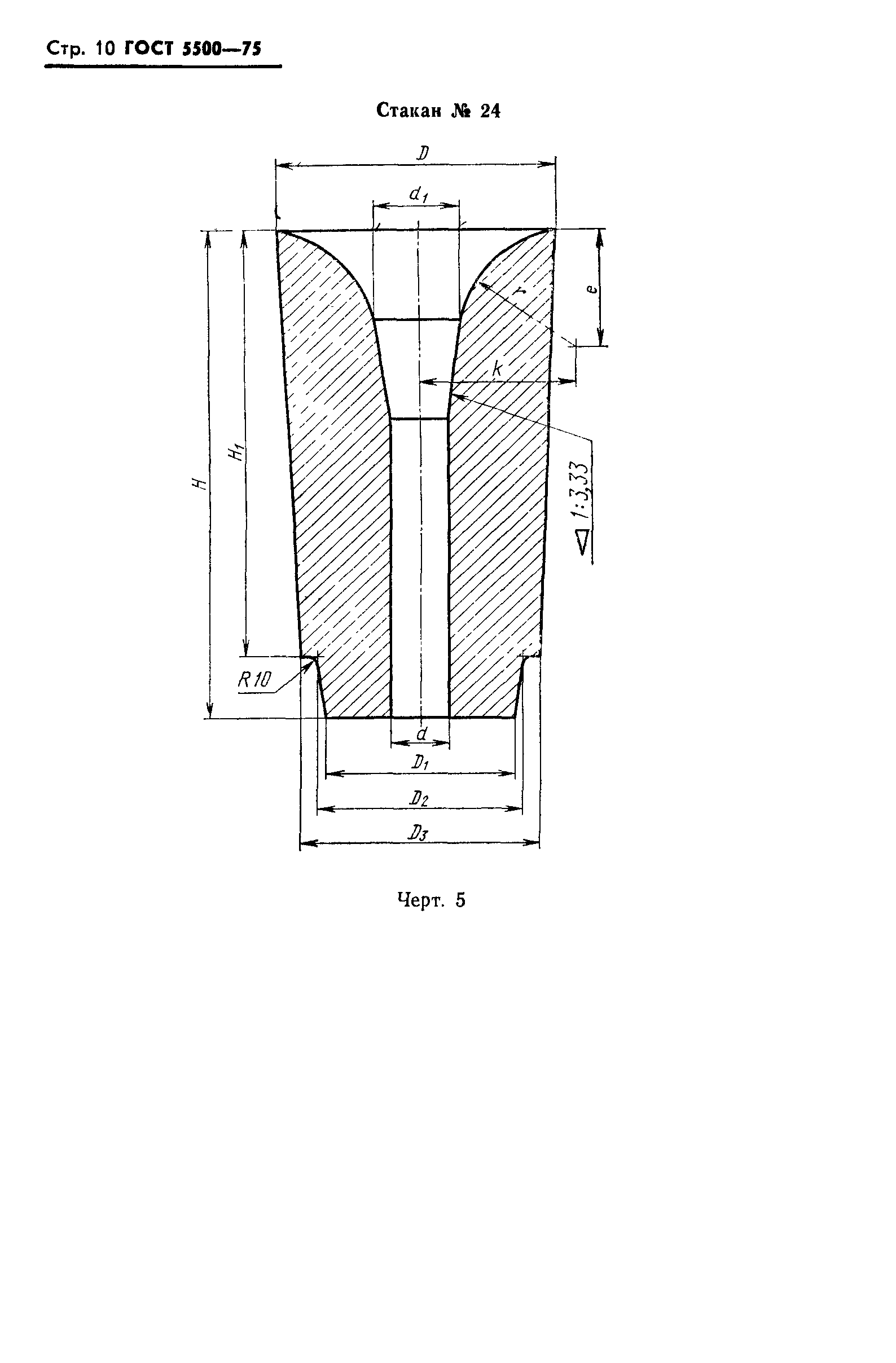
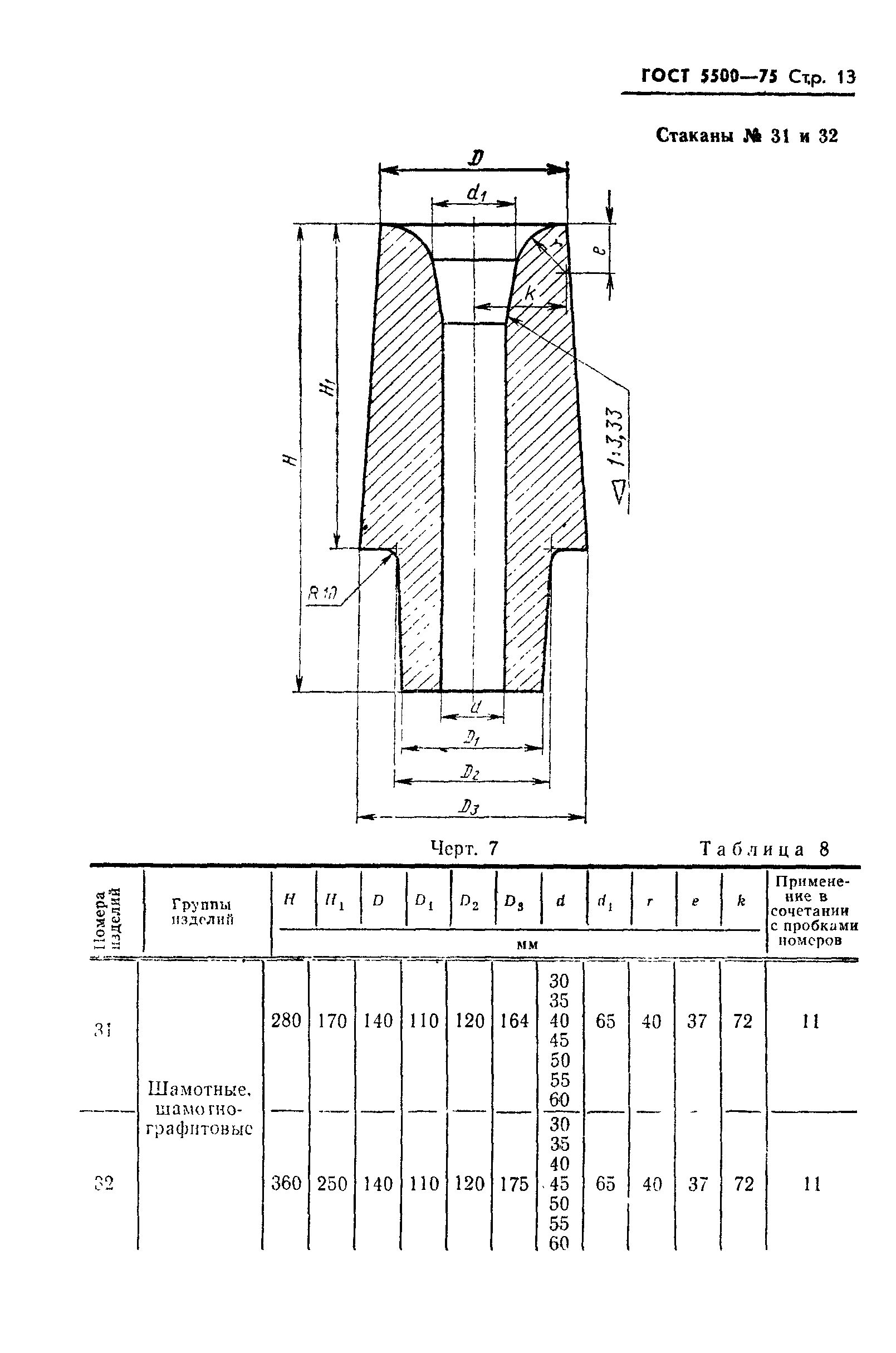
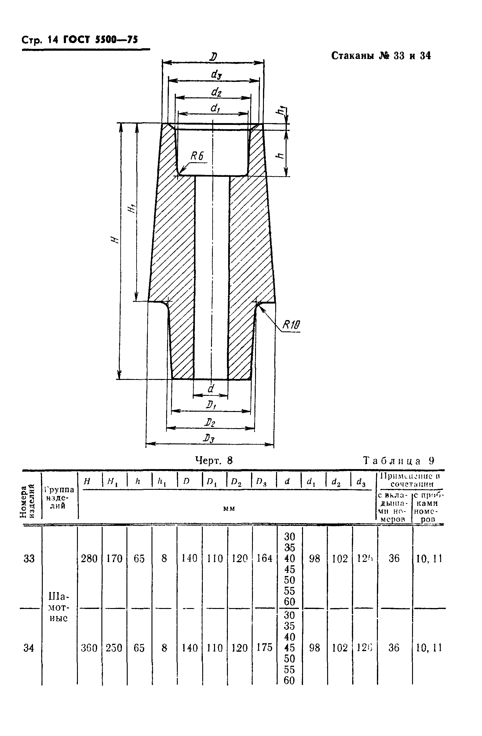
| Область применения: | Настоящий стандарт распространяется на огнеупорные стопорные изделия для разливки стали из ковша: стопорные трубки, пробки, стаканы, вкладыши к стаканам и гнездовой кирпич | 
| Список изменений: | №1 от 01.04.1979 (рег. 21.11.1978) «Срок действия продлен» №2 от 01.06.1982 (рег. 13.01.1982) «Срок действия продлен» №3 от 01.01.1987 (рег. 14.07.1986) «Срок действия продлен» №4 от 01.01.1992 (рег. 04.06.1991) «Срок действия продлен»  | 
| Расположен в: | |





















































