| Обозначение: |    ГОСТ 5088-94 | 
| Статус: | заменён | 
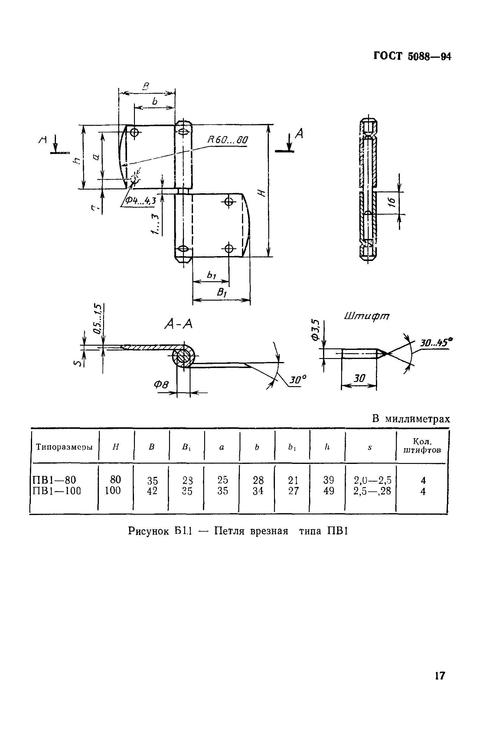
| Название рус.: | Петли стальные для деревянных окон и дверей. Технические условия | 
| Название англ.: | Steel hinges for wooden windows and doors. Specifications | 
| Дата актуализации текста: | 06.04.2015 | 
| Дата актуализации описания: | 01.07.2023 | 
| Дата регистрации: | 17.03.1994 | 
| Дата издания: | 20.10.1995 | 
| Дата введения: | 01.09.1995 | 
| Дата окончания срока действия: | 01.01.2007 | 
| Код ОКП: | 498300 | 
| Взамен: |  ГОСТ 5088-78 | 
| Заменяющий: |  ГОСТ 5088-2005 | 
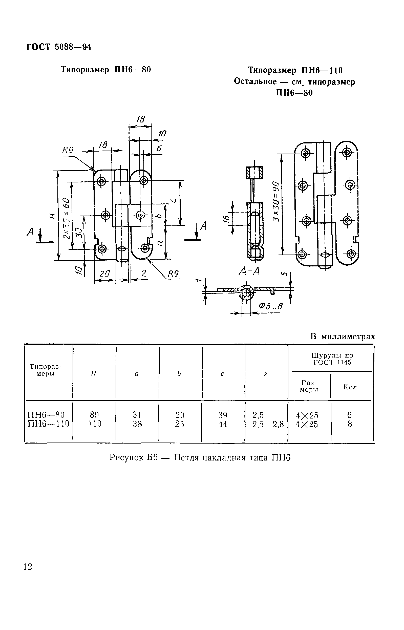
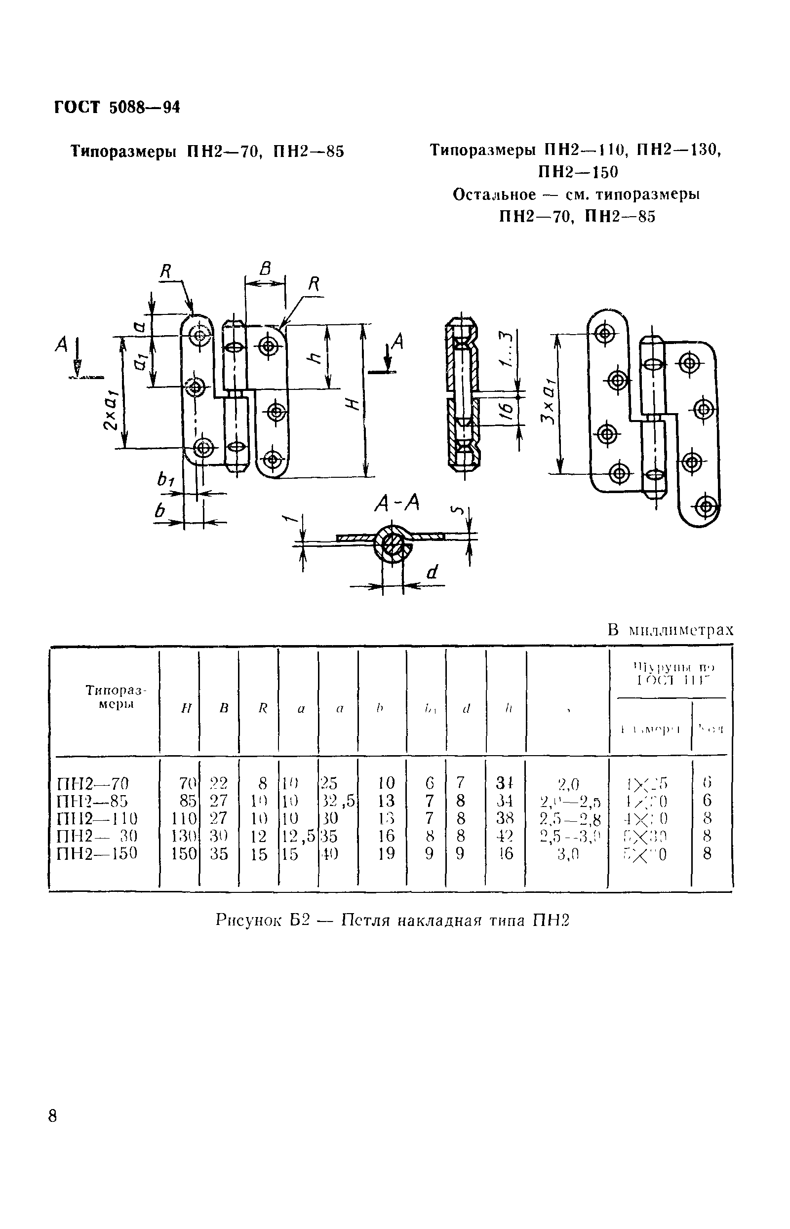
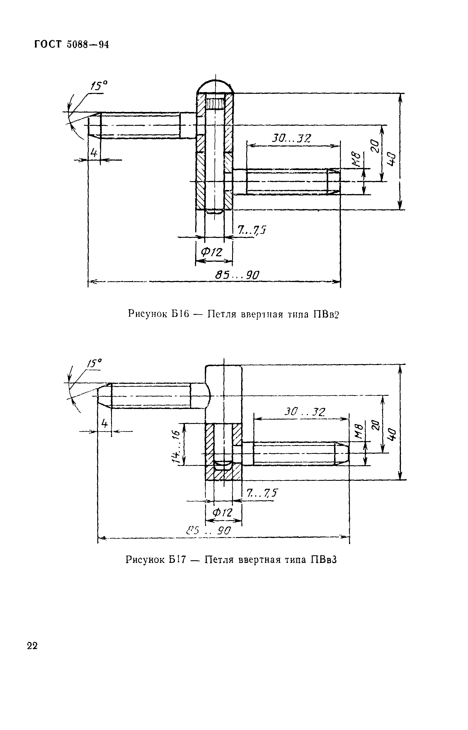
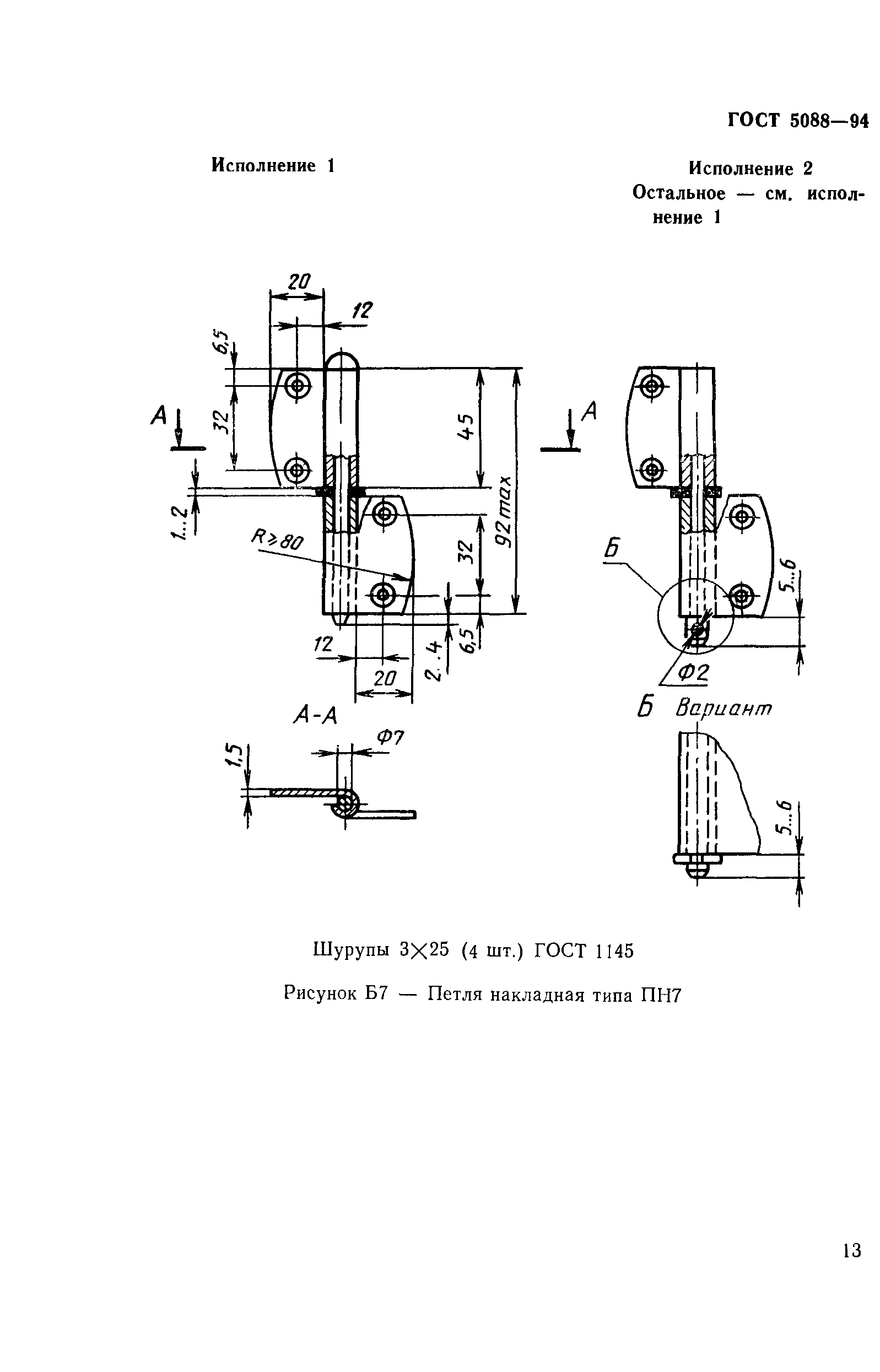
| Область применения: | Настоящий стандарт распространяется на стальные петли для деревянных окон и дверей | 
 | 
| Расположен в: | 
  |