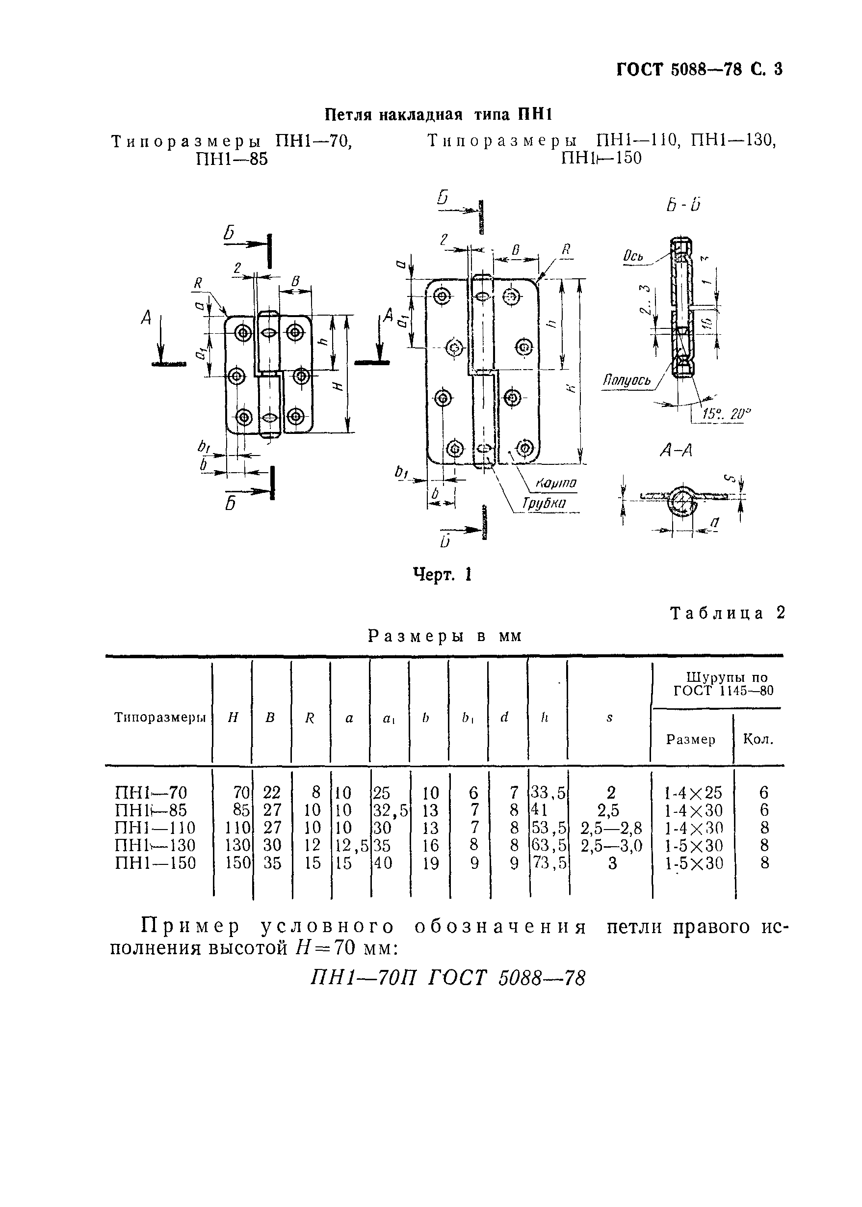
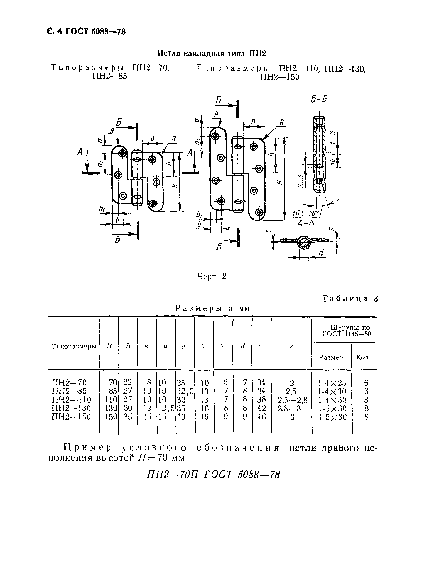
| Обозначение: |  ГОСТ 5088-78 |
| Статус: | заменён |
| Название рус.: | Петли для деревянных окон и дверей. Типы и основные размеры |
| Название англ.: | Window and door hinges. Types and principal dimensions |
| Дата актуализации текста: | 06.04.2015 |
| Дата актуализации описания: | 01.07.2023 |
| Дата введения: | 01.01.1980 |
| Дата окончания срока действия: | 01.09.1995 |
| Код ОКП: | 498000 |
| Взамен: | ГОСТ 5088-72 |
| Заменяющий: | ГОСТ 5088-94 |
| Нормативные ссылки: | ГОСТ 1145-70; ГОСТ 14613-69; ГОСТ 538-72; ГОСТ 397-66 |
| Список изменений: | №1 от 01.01.1986 (рег. 14.01.1986) «Поправка» |
|
| Расположен в: |
|